EasyManua.ls Logo

Apple Power Mac G4 - Page 202

Apple Power Mac G4
293 pages
Print Icon
To Next Page IconTo Next Page
To Next Page IconTo Next Page
To Previous Page IconTo Previous Page
To Previous Page IconTo Previous Page
Loading...
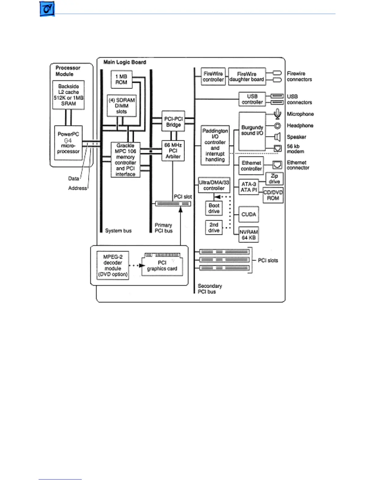
Troubleshooting General/ Block Diagrams - 4
Power Macintosh G4 (PCI Graphics) Block Diagram

Other manuals for Apple Power Mac G4

Related product manuals