EasyManua.ls Logo

Aqua Technopool pH-Rx - Setting the Solenoid Valve

Aqua Technopool pH-Rx
Print Icon
To Next Page IconTo Next Page
To Next Page IconTo Next Page
To Previous Page IconTo Previous Page
To Previous Page IconTo Previous Page
Loading...
TECHNOPOOL2 QUICK PROGRAMMING
Dosing systems for swimming pools ENGLISH
ADSP7000693 rev. 1.0 24/03/2016 37/44
4.5 Setting the solenoid valve
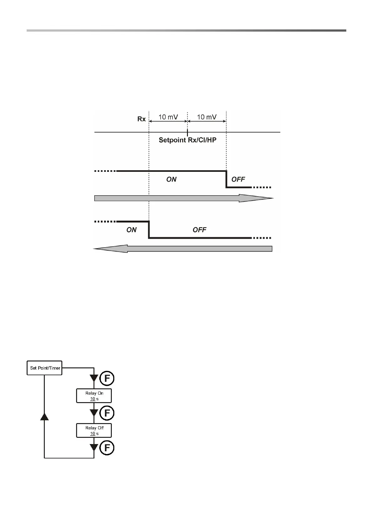
The operation mode of the control relay of the solenoid valve can be ON/OFF or cyclical.
ON/OFF: The relay opening and closing is controlled by the redox reading; if the system reads a value lower than
the set Setpoint, then the relay is activated (ON), otherwise it is deactivated (OFF). In this case, a hysteresis of 10
mV (redox, Rx) must be considered.
Cyclical: The relay opening and closing is continuously controlled by the On and OFF timing, which can be
proportional to the temperature (set on automatic or manual) or not (temperature set on OFF).
Manual temperature or with PT100:
Relay On Relay On T. Max Relay Off Relay Off T. Max
Temperature OFF (disabled):
Relay On Relay Off
Enter the installer menu, select option Set Point/Timer , press key Enter and then key F more than once, until
Relay On is displayed:
Temperature OFF (disabled):
Relay On
It indicates the relay ON schedule (solenoid valve open).
Press keys ▼▲ to set the desired value and Enter to confirm.
Values that can be set are 0÷59 seconds or 1÷60 minutes.
Relay Off
It indicates the relay OFF schedule (closed solenoid valve).
Press keys ▼▲ to set the desired value and Enter to confirm.
Values that can be set are 0÷59 seconds or 1÷60 minutes.

Table of Contents

Other manuals for Aqua Technopool pH-Rx