EasyManua.ls Logo

Archos Drone VR - Page 123

Archos Drone VR
189 pages
Print Icon
To Next Page IconTo Next Page
To Next Page IconTo Next Page
To Previous Page IconTo Previous Page
To Previous Page IconTo Previous Page
Loading...
123
=
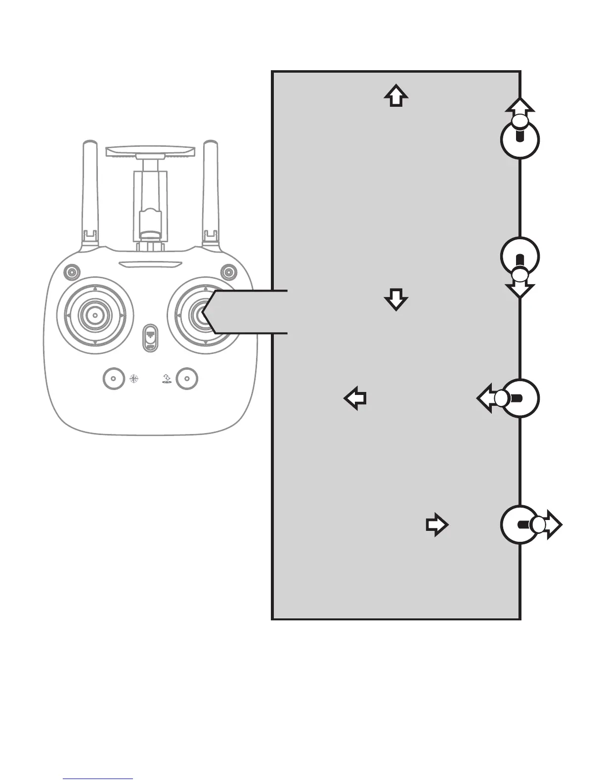
Leva in su, il drone avanza.
Leva in giù, il drone
indietreggia.
Leva a sinistra,
il drone gira a sinistra.
Leva a destra,
il drone gira a destra.
Leva destra