EasyManua.ls Logo

Archos Drone VR - Page 150

Archos Drone VR
189 pages
Print Icon
To Next Page IconTo Next Page
To Next Page IconTo Next Page
To Previous Page IconTo Previous Page
To Previous Page IconTo Previous Page
Loading...
150
=
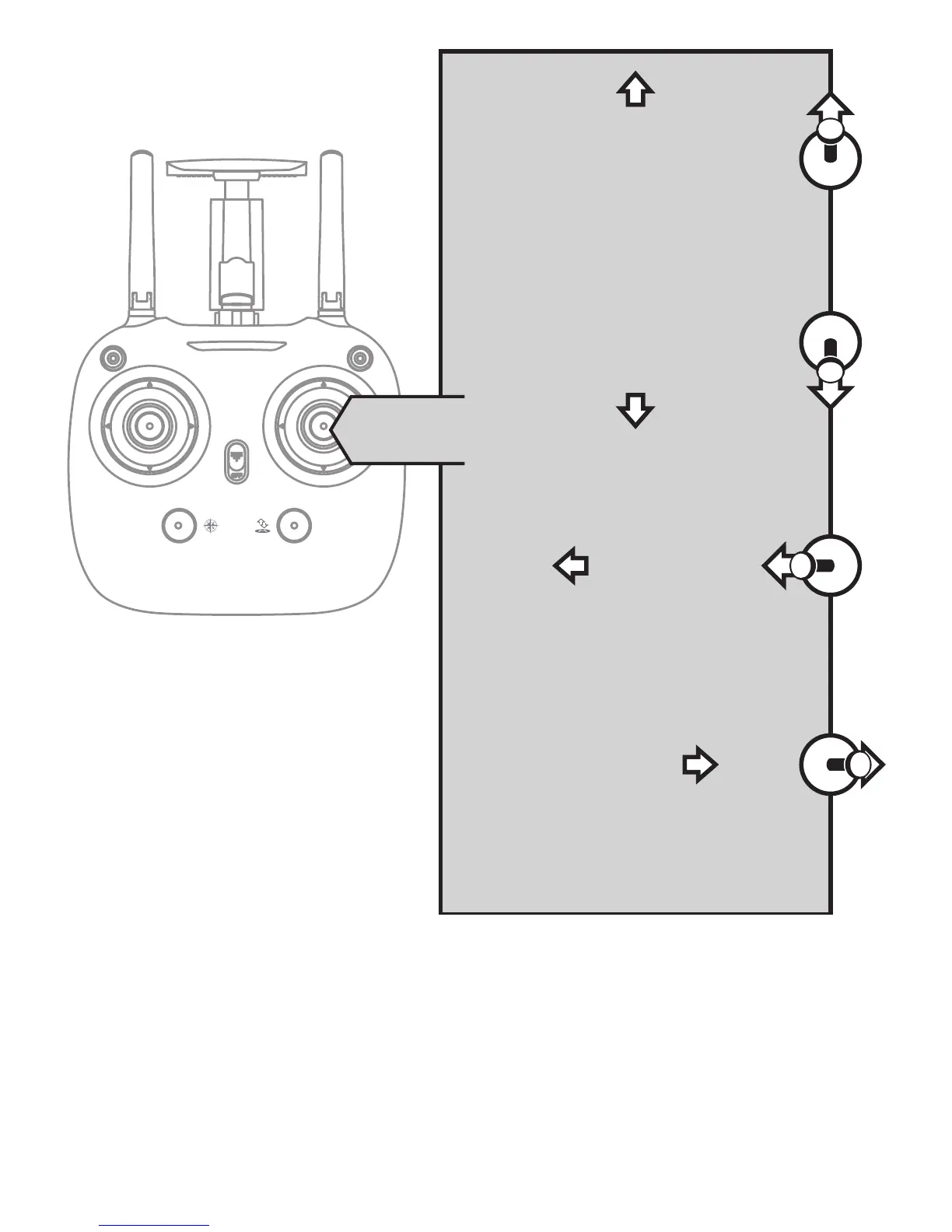
Przesuń dźwignię w górę,
dron poleci do przodu.
Przesuń dźwignię w dół,
dron poleci do tyłu
Przesuń dźwignię w lewo,
dron skręci w lewo
Przesuń dźwignię w prawo,
dron skręci w prawo
Prawy
drążek