EasyManua.ls Logo

Archos Drone VR - Page 16

Archos Drone VR
189 pages
Print Icon
To Next Page IconTo Next Page
To Next Page IconTo Next Page
To Previous Page IconTo Previous Page
To Previous Page IconTo Previous Page
Loading...
16
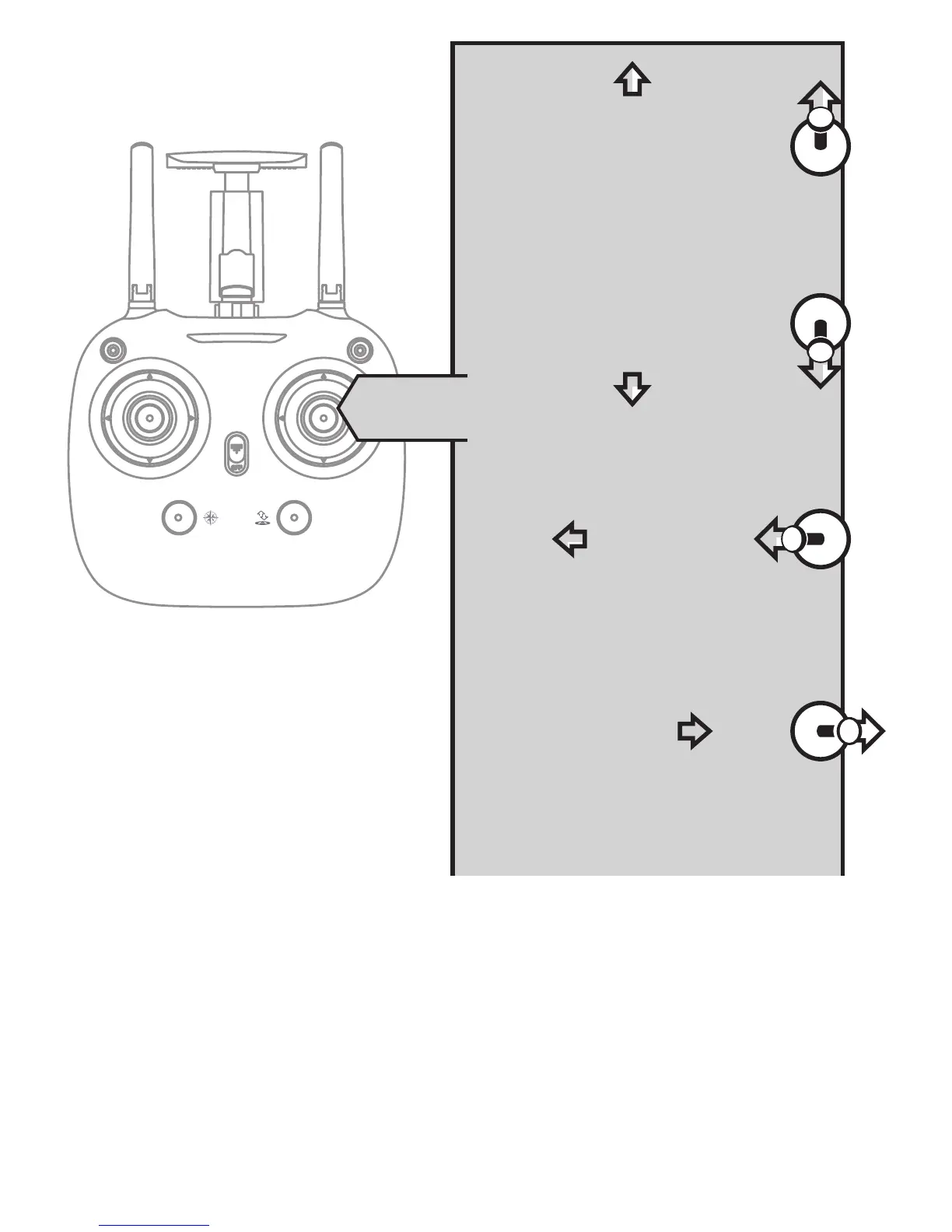
Push the lever up, the
drone goes forward.
Pull the lever down, the
drone goes backward.
Turn the lever to the left,
the drone turns to left
Turn the lever to the right,
the drone turns to right
Right Stick