EasyManua.ls Logo

Arcora BLANCUS 40 - Page 10

Arcora BLANCUS 40
19 pages
Print Icon
To Next Page IconTo Next Page
To Next Page IconTo Next Page
To Previous Page IconTo Previous Page
To Previous Page IconTo Previous Page
Loading...
10
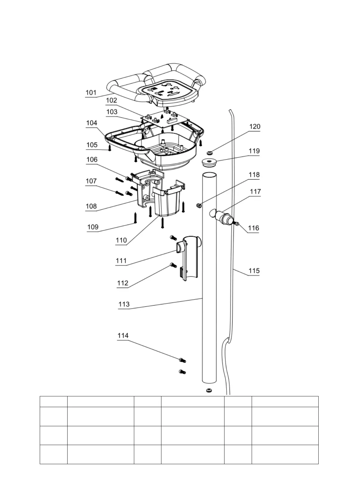
Explosion diagram 1
Number
Name
Number
Name
Number
Name
101
Handle case upper case
102
Control circuit board
103
3X8 pan head
self-tapping screws
104
Handle case lower case
105
4X16 pan head
self-tapping screws
106
M6X16 cylinder head
screw
107
4X30 pan head
self-tapping screws
108
Handle connector
(rear)
109
4X30 pan head
self-tapping screws