EasyManua.ls Logo

Arrow LW108 - Page 19

Default Icon
48 pages
Print Icon
To Next Page IconTo Next Page
To Next Page IconTo Next Page
To Previous Page IconTo Previous Page
To Previous Page IconTo Previous Page
Loading...
19
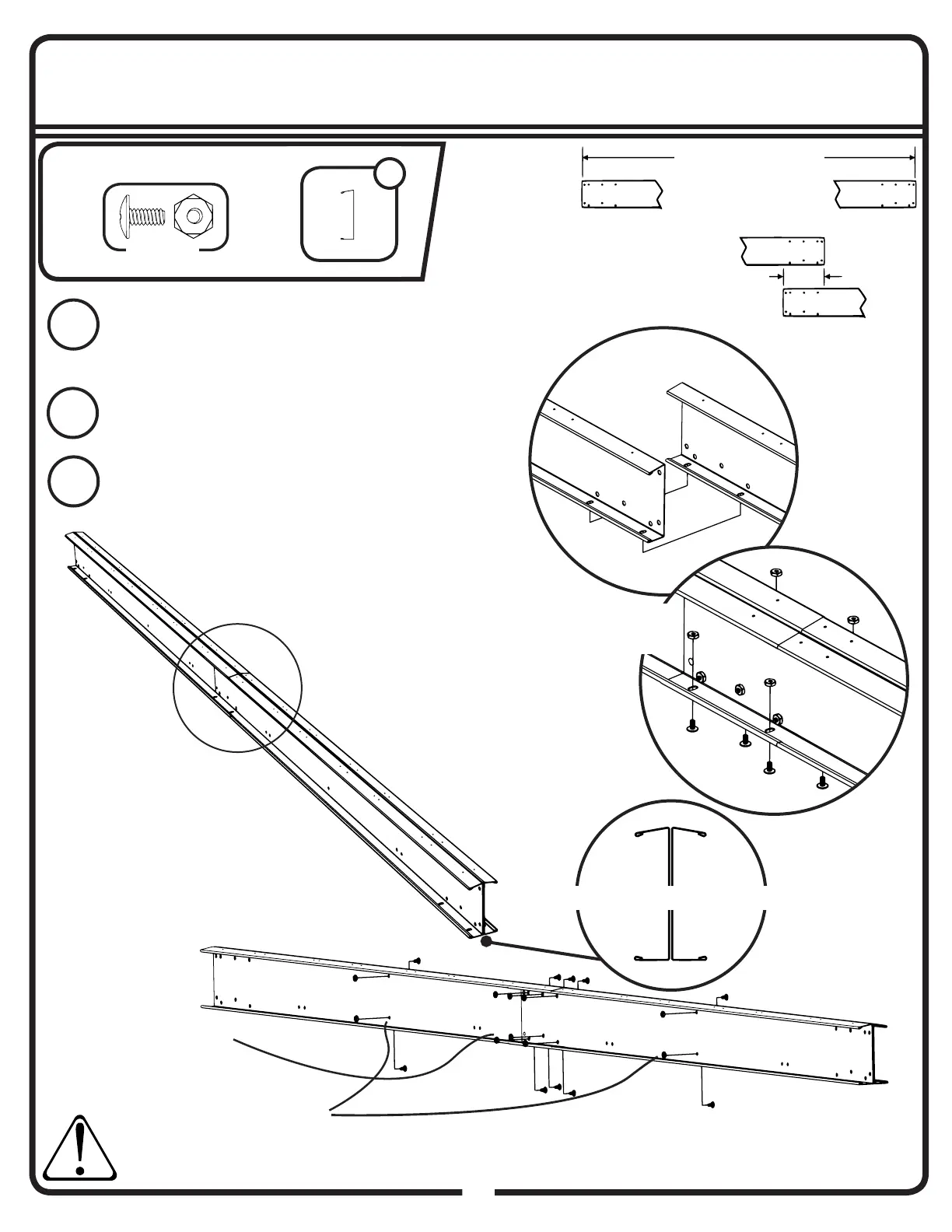
Six (6) holes align.
Two (2) holes align.
Finished Length
91 7/8” 233,4 cm
CHECK THAT ALL ASSEMBLED PARTS ARE
THE CORRECT LENGTH BEFORE CONTINUING
You will need for this page:
Step 3: Continued
Overlap two (2) Roof Beams so that bottom slots
align but DO NOT INSERT BOLTS. Next, overlap
two (2) more Roof Beams to form a second Roof
Beam Assembly. DO NOT INSERT BOLTS .
4
Insert four (4) bolts and nuts into slots from bottom.
Check that the nished length of the Assembly is
91 7/8” (233,4 cm). Set aside for use in Step 12.
6
5
Place both Roof Beam Assemblies back-to-
back to form a Double Beam. Insert ten (10)
bolts and nuts as shown below.
Place two (2) bolts thru slots
on each side of the Beam.
(QTY: 14)
Roof Beam
4
10470
End View of Double Beam
BUILD ONE (1) BEAM
10470
10470
10470
10470
6” 15,2 cm
Overlap Length
19A

Other manuals for Arrow LW108

Related product manuals