EasyManua.ls Logo

Article NERA - Side Headboard Connection

Article NERA
24 pages
Print Icon
To Next Page IconTo Next Page
To Next Page IconTo Next Page
To Previous Page IconTo Previous Page
To Previous Page IconTo Previous Page
Loading...
Page 5 of 21
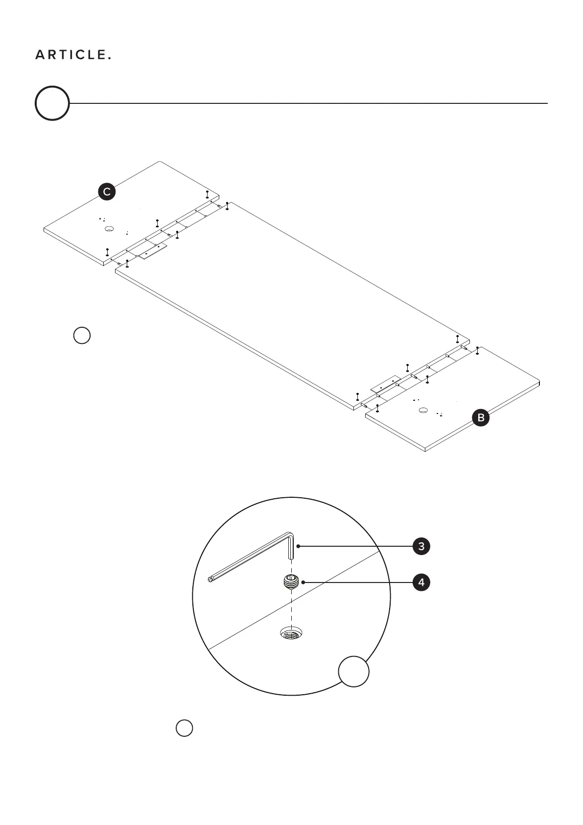
1B
×12
NERA Bed with Nightstands
Note orientation of holes
on side headboards (B/C).
Secure first 6 screws (4) into headboard (A) first
before attaching left and right side headboards (B/C).
!
!
BACK SIDE OF HEADBOARD

Related product manuals