EasyManua.ls Logo

Asus Z87-A - Onboard Leds

Asus Z87-A
100 pages
Print Icon
To Next Page IconTo Next Page
To Next Page IconTo Next Page
To Previous Page IconTo Previous Page
To Previous Page IconTo Previous Page
Loading...
1-27
Chapter 1: Product introduction
1.7 Onboard LEDs
1. EPU LED
The EPU LED lights up when the EPU switch is enabled.
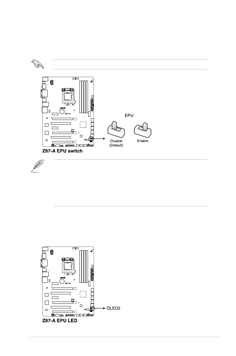
4. EPU switch
Enable this switch to automatically detect the current PC loadings and intelligently
moderate the power consumption.
Enable this switch when the system is powered off.
The EPU LED (OLED2) near the EPU switch lights up when the EPU switch is
enabled. Refer to section 1.7 Onboard LEDs for the exact location of the EPU LED.
If you enable this switch under Windows
®
OS environment, the EPU function will be
activated after the next system bootup.
You may change the EPU settings in the software application or BIOS setup program
and enable the EPU function at the same time. However, the system will use the last
setting you have made.

Table of Contents

Other manuals for Asus Z87-A

Related product manuals