EasyManua.ls Logo

Atari 1010 - 1010 S Motor Will Not Turn Tape

Atari 1010
63 pages
Print Icon
To Next Page IconTo Next Page
To Next Page IconTo Next Page
To Previous Page IconTo Previous Page
To Previous Page IconTo Previous Page
Loading...
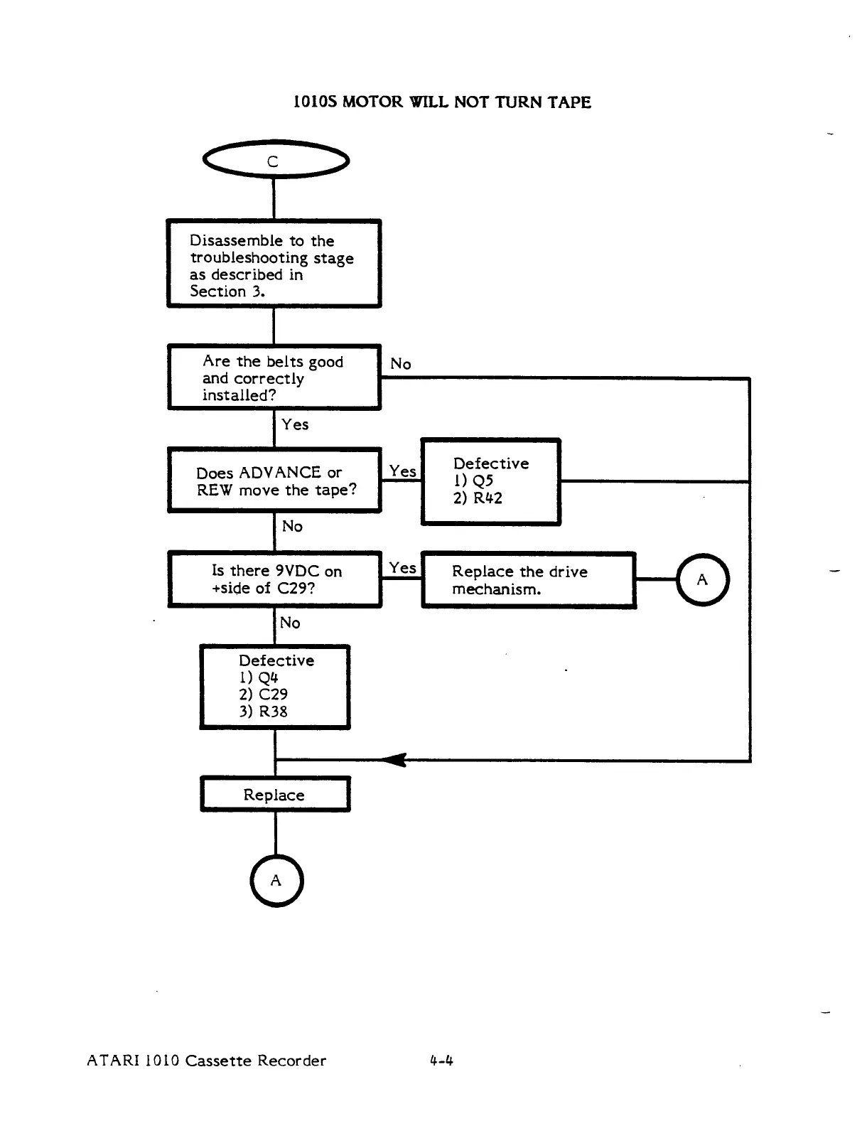
1010S
MOTOR
WILL
NOT
TURN
TAPE
Disassemble
to
the
troubleshooting
stage
as
described
in
Section
3.
Are
the
belts
good
and
correctly
installed?
Does
ADVANCE
or
REW
move
the
tape?
Is
there
9VDC
on
+side
of
C29?
Defective
1)
Q4
2)
C29
3)
R38
Defective
1)
Q5
2)
R4&2
ATARI
1010
Cassette
Recorder
4-4