EasyManua.ls Logo

Atari 1010 - 1010 S No Power-On LED Indicator

Atari 1010
63 pages
Print Icon
To Next Page IconTo Next Page
To Next Page IconTo Next Page
To Previous Page IconTo Previous Page
To Previous Page IconTo Previous Page
Loading...
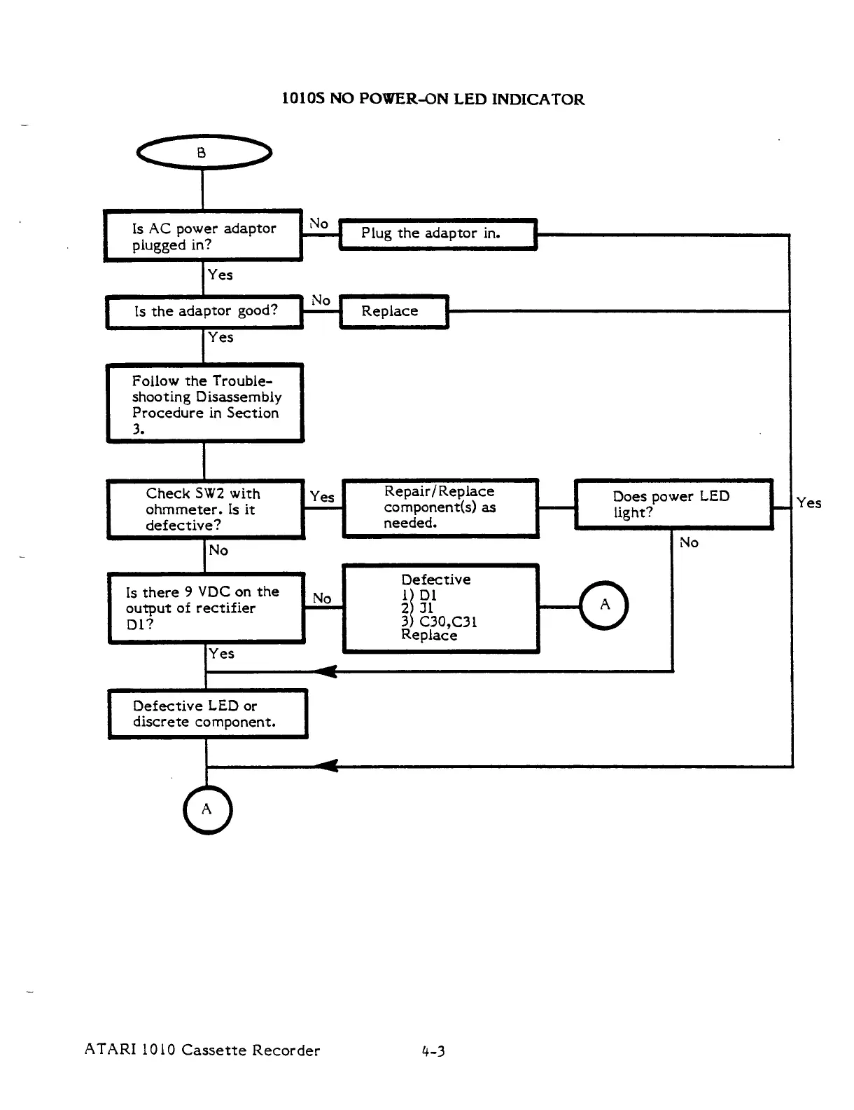
1010S
NO
POWER-ON
LED
INDICATOR
Plug
the
adaptor
in.
Is
the
adaptor
good?
Foilow
the
Trouble-
shooting
Disassembly
Procedure
in
Section
3.
Check
SW2
with
Repair/Replace
Does
power
LED
Yes
ohmmeter.
Is
it
component(s)
as
light?
defective?
needed.
Defective
Is
there
9
VDC
on
the
1)
Dl
output
of
rectifier
2)
Jl
D1?
3)
C30,C31
Replace
Defective
LED
or
discrete
component.
ATARI
1010
Cassette
Recorder
4-3