EasyManua.ls Logo

Atari 1010 - 1010 S No Audio

Atari 1010
63 pages
Print Icon
To Next Page IconTo Next Page
To Next Page IconTo Next Page
To Previous Page IconTo Previous Page
To Previous Page IconTo Previous Page
Loading...
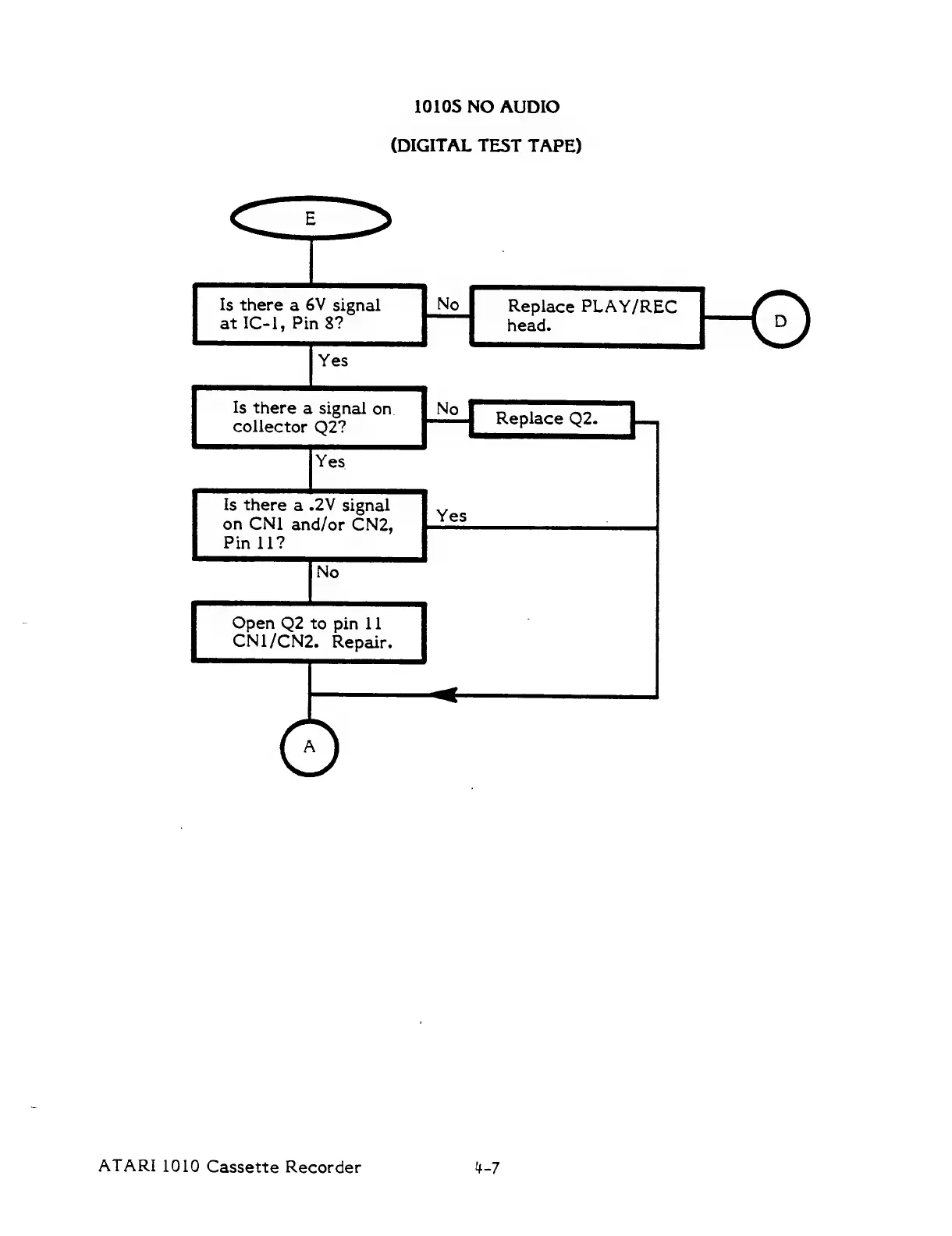
1010S
NO
AUDIO
(DIGITAL
TEST
TAPE)
Is
there
a
6V
signal
at
IC-1,
Pin
8?
Yes
Is
there
a
signal
on.
collector
Q2?
Is
there
a
.2V
signal
on
CNI1
and/or
CN2,
Pin 11?
Open
Q2
to
pin
11
CN1/CN2.
Repair.
Replace
PLAY/REC
head.
Replace
Q2.
ATARI
1010
Cassette
Recorder
4.7