EasyManua.ls Logo

Atari 1010 - 1010 C No Power-On LED Indicator

Atari 1010
63 pages
Print Icon
To Next Page IconTo Next Page
To Next Page IconTo Next Page
To Previous Page IconTo Previous Page
To Previous Page IconTo Previous Page
Loading...
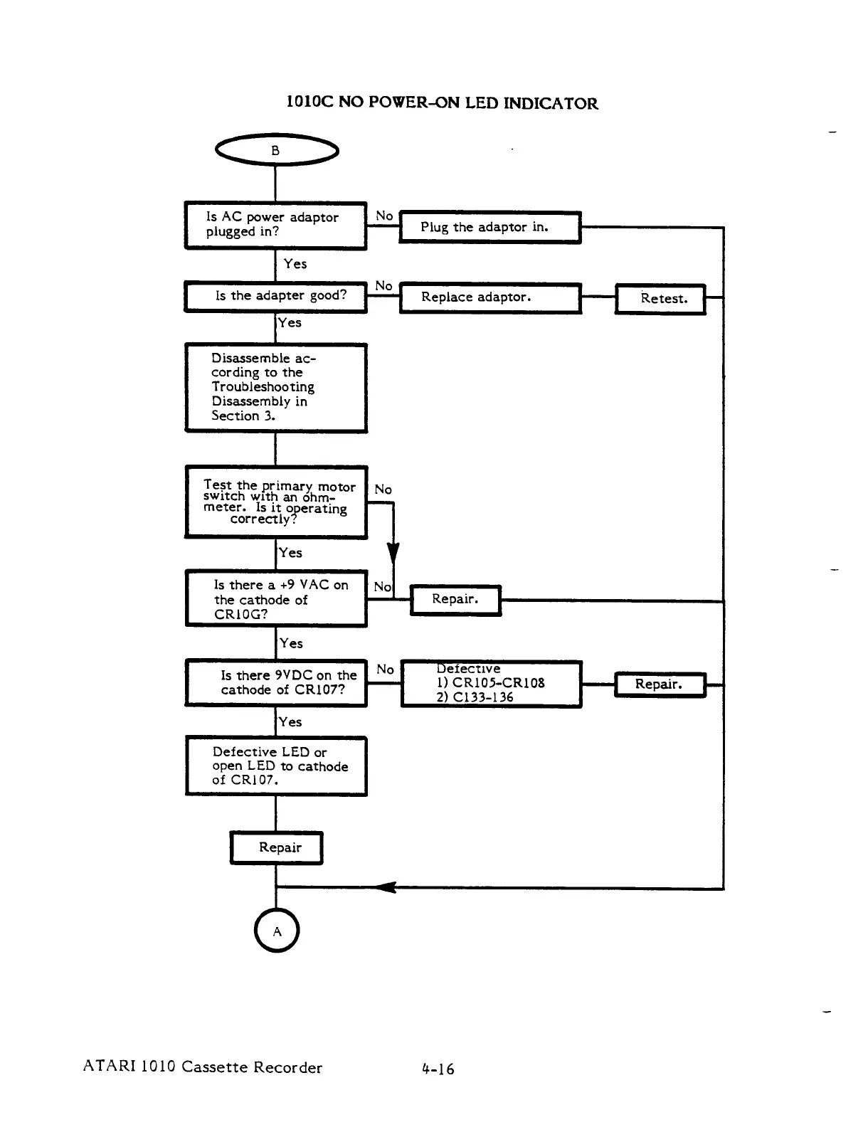
1010C
NO
POWER-ON
LED
INDICATOR
Plug
the
adaptor
in.
Is
AC
power
adaptor
plugged
in?
Is
the
adapter
good?
Replace
adaptor.
Disassemble
ac-
cording
to
the
Troubleshooting
Disassembly
in
Section
3.
Test
the
primary
motor
switch
with
an
ohm-
meter.
Is
it
operating
correctly?
Is
there
a
+9
VAC
on
the
cathode
of
CRILOG?
Is
there
9VDC
on
the
cathode
of
CR107?
Defective
LED
or
open
LED
to
cathode
of
CR107,
Defective
1)
CR105-CR108
2)
C133-136
ATARI
1010
Cassette
Recorder
4-16