EasyManua.ls Logo

Atari 1010 - 1010 C Motor Will Not Turn Tape

Atari 1010
63 pages
Print Icon
To Next Page IconTo Next Page
To Next Page IconTo Next Page
To Previous Page IconTo Previous Page
To Previous Page IconTo Previous Page
Loading...
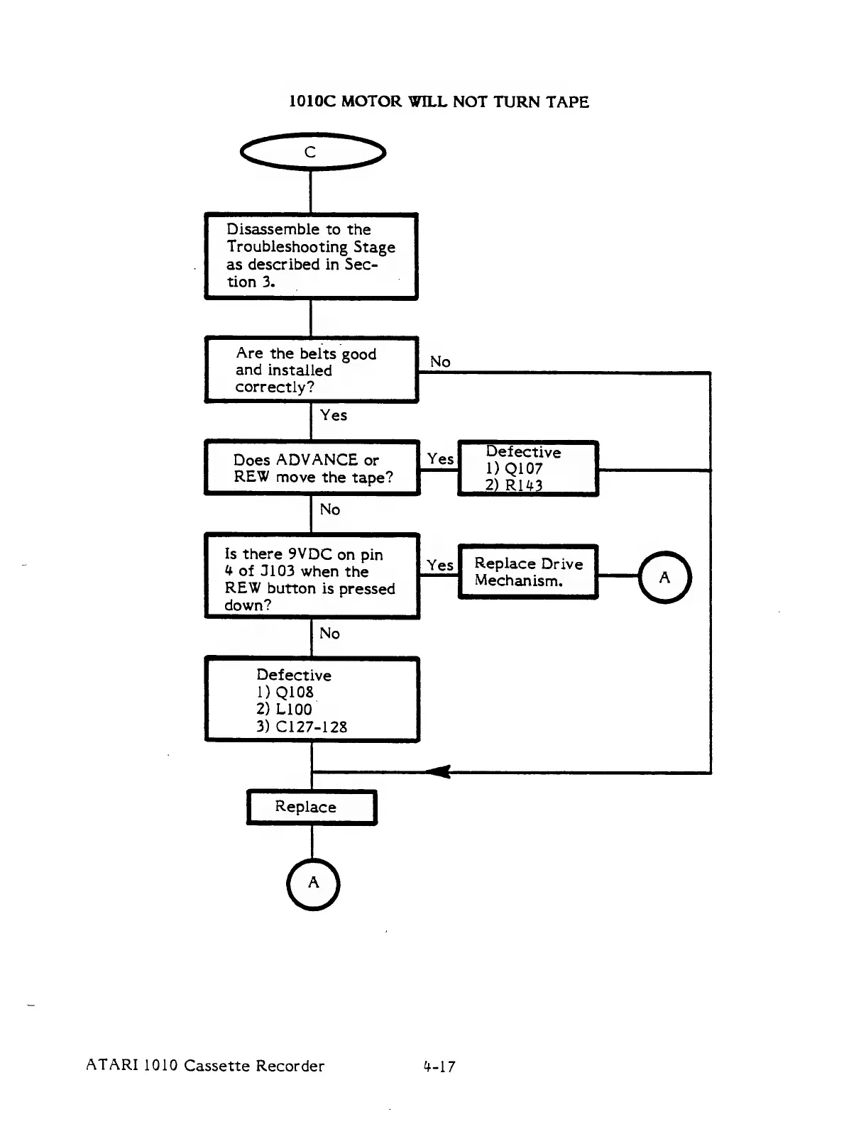
1010C
MOTOR
WILL
NOT
TURN
TAPE
Disassemble
to
the
Troubleshooting
Stage
as
described
in
Sec-
tion
3.
Are
the
belts
good
and
installed
correctly?
Does
ADVANCE
or
Defective
1)
Q107
REW
move
the
tape?
2)
R143
Is
there
9VDT
on
pin
4
of
J103
when
the
REW
button
is
pressed
down?
Replace
Drive
Mechanism.
Defective
1)
Q108
2)
Lio00
3)
C127-128
ATARI
1010
Cassette
Recorder
4-17