EasyManua.ls Logo

Atari 1010 - Page 53

Atari 1010
63 pages
Print Icon
To Next Page IconTo Next Page
To Next Page IconTo Next Page
To Previous Page IconTo Previous Page
To Previous Page IconTo Previous Page
Loading...
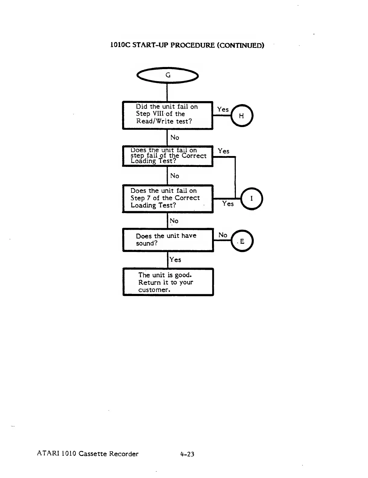
1010C
START-UP
PROCEDURE
(CONTINUED)
Did
the
unit
fail
on
Step
VIII
of
the
Read/Write
test?
Does
the
unit
fail
on
step
fail
of
the
Correct
Loading
Test?
Does
the
unit
fail
on
Step
7
of
the
Correct
Loading
Test?
The
unit
is
good.
Return
it
to
your
customer.
ATARI
1010
Cassette
Recorder
4-23