EasyManua.ls Logo

Atari 1010 - 1010 C Will Not Read Program

Atari 1010
63 pages
Print Icon
To Next Page IconTo Next Page
To Next Page IconTo Next Page
To Previous Page IconTo Previous Page
To Previous Page IconTo Previous Page
Loading...
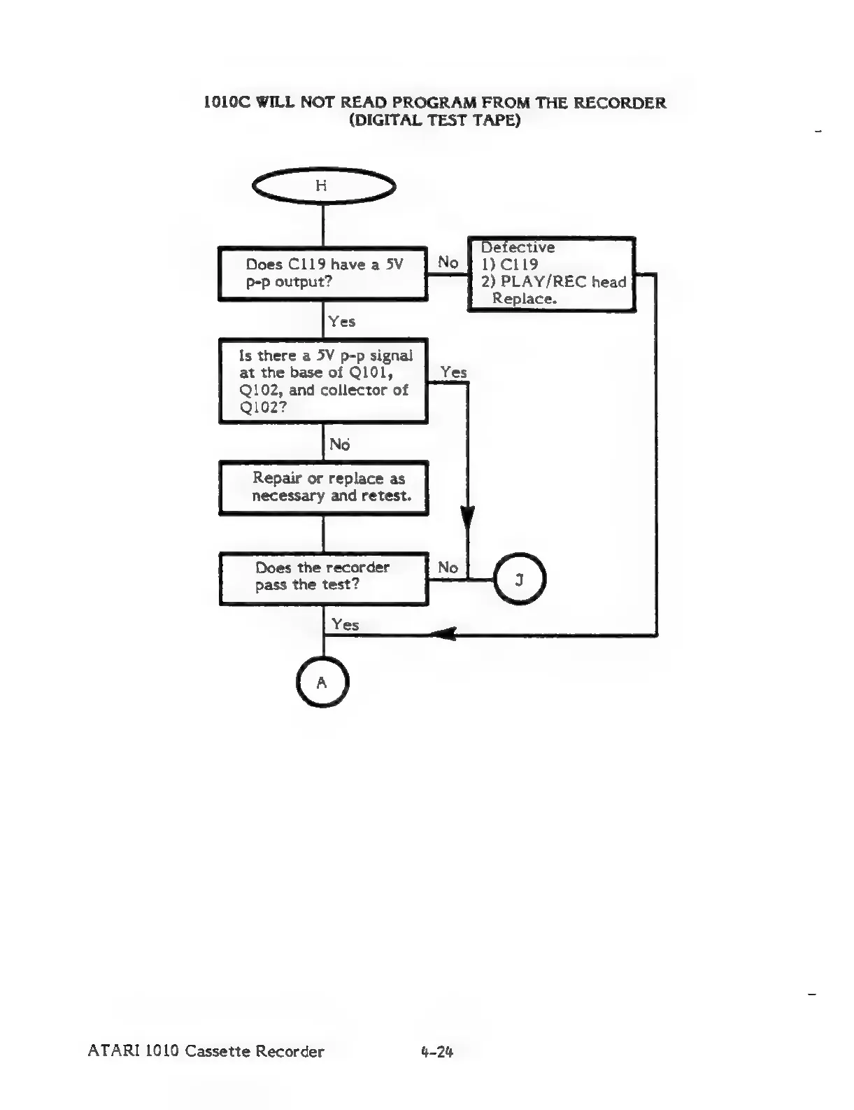
1010C
WILL
NOT
READ
PROGRAM
FROM
THE
RECORDER
(DIGITAL
TEST
TAPE)
Detective
1)
C119
2)
PLAY/REC
head
Replace.
Does
C119
have
a
5V
P-p
output?
Is
there
a
5V
p-p
signal
at
the
base
of
QIO1,
Q102,
and
collector
of
Q102?
Repair
or
replace
as
necessary
and
retest.
Does
the
recorder
pass
the
test?
ATARI
1010
Cassette
Recorder
4-24