EasyManua.ls Logo

ATB CD Series - Mains and Guard Circuit Connection

Default Icon
52 pages
Print Icon
To Next Page IconTo Next Page
To Next Page IconTo Next Page
To Previous Page IconTo Previous Page
To Previous Page IconTo Previous Page
Loading...
21
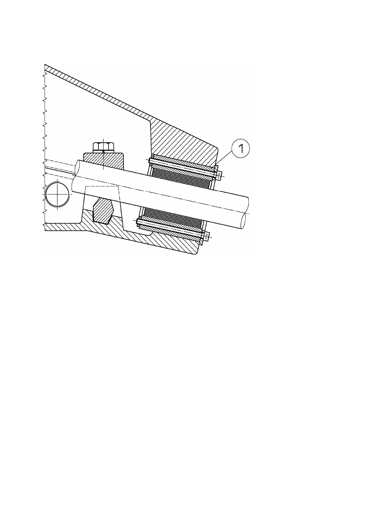
Figure 7: Cable lead-in
c Maximum two line lead-ins, Roxtec, RS Type plugs
Mains and guard circuit connection
The mains can be connected either with or without cable lug both in models
with terminal board (Î
Fig. 8) and in those with single-conductor bushings
(ÎFig. 9) (ÎSection "Connection Diagrams", page 39).
c Connect the power line to the relevant terminals as per the supplied
wiring diagram.