EasyManua.ls Logo

Atlantic 94835757 - Wall Mounting and Warranty; Wall Mount Components & Tools; Secure Wall Mounting Guide; Product Warranty Details

Atlantic 94835757
9 pages
Print Icon
To Previous Page IconTo Previous Page
To Previous Page IconTo Previous Page
Loading...
licneP*
zipáL
llirDrewoP*
leordalaT ocirtcé
revirdwercSspillihP*
)spillihP
(allertseedrodamraseD
dedulcniton/dedeenslooT
sadiulcnion/sadireuqersatneimarreH
WroftnuoMllaWytef ia ccetorPnocderaPneejatnoM/smetIdooS aredaMedsoiroseccAarapnó
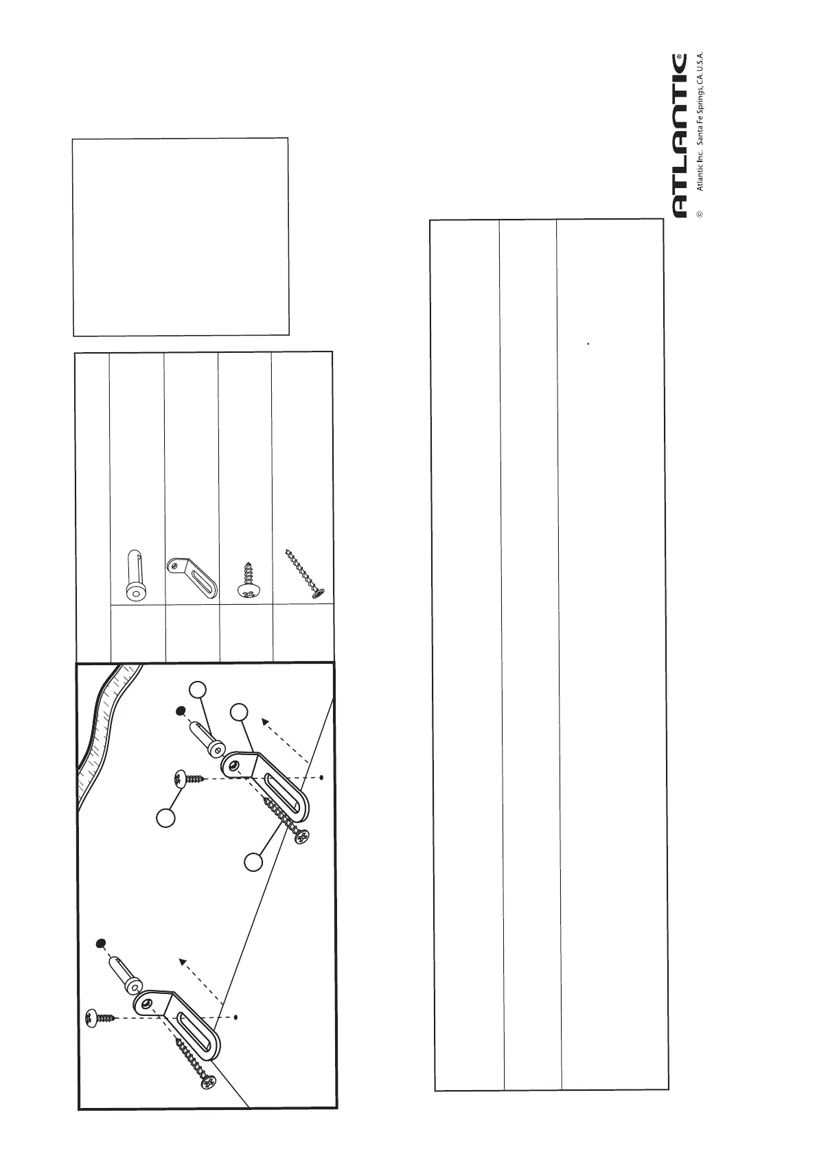
setnenopmoCedatsiL/tsiLtraP
rohcnallawcitsalP)A(
lpedeteuqaT) dA e( raparapocitsá
tekcarbgnitnuomlateM)B(
temejatnomedasA) aB c( ilá
wercsdooW)C(
aredamarapeteuqaT)C(
wercsllaw-yrD)D(
tracedderaparapollinroT)D osey ed nó(
ejatnoMedsenoiccurtnI/snoitcurtsnIgnitnuoM
)stes2(tinuehtfopotehtrofnoitcurtsniehtwlloF
)sogeuj2(dadinualedroirepusetrapalarapsenoicceridsalagiS
otgnidroccallawruoynonoitisopderisedehtta)B(tekcarbgnitnuomecalP.1 oitisopelohehtkraM.tinuruoyfothgieh
e .h lt ic
nepahtiwllawehtnon
icisopalne)B(ejatnomedasaleeuqoloC.1 icisopaleuqraM.dadinualedarutlaalnocodreu
caedderapusneadaesednó icarofrepaledn ló nocderapalnen .ó zi
pá
i)A(rohcnacitsalpehttresnI.llawehtnokramlicnepehtnoelohallirD.2 llawehtotn
licarofrepanuagaH. n2 ocahcehacramalnederapalne ln pó edeteuqatleetresnI.zi .p dá erapalne)A(ocitsá
ohllird-erpo
tni)C(wercsdoowehtwercsdna)B(tekcarbgnitnuomeh
tecalP.3 esolctinuehtevoM.tinuehtfopotehtnoel .dedeenfi)B(tekcarbgnidilsehttsuj
dA.llawehtotr
.)A(rohcnallawehtotni)D(wercsllaw-yrdehtwercS
maleuqoloC.3 icarofrepalne)C(aredamarapsol
li
nrotsolellinrotay)B(ejatnomedalusné roirepusetrapalneahcehay mn dó adinualaveuM.dadinual se ád
.derapaledacre .c oirasecenseis)B(etnazilsedalusnémaletsujA tracarapollinrotleellinro at tA le
ne)D(oseyed .n )A(derapedeteuqó
:ETON epytllawruoyroferawdrahreporpehtesuotlaitnessesiti,gnitnuoMefaSroF lruoytcatnoC).cte,etercnoc,llawyrd
,doow( yrassecenfiecnatsissaroferotserawdrahla .co
:ATON opitlearapsodaucedasotnemelpmisolra
sulaicnesese,o
rugeSejatnoMnuaraP trac ,aredam( derap us ed ,otercnoc ,osey ed nó reterrefalaaducA).c st ee isaicnetsisaarapdadilacolusedaí
.
elbisopaeseuqerpmeissetorrabsolneelatsnI.oirasecen
2
2
2
2
-
9
-
U.S. and other foreign patents pending /
Patentes de los EUA y países extranjeros en trámite
All rights reserved / Derechos Reservados
Made in China / Hecho en China
www.atlantic-inc.com
210302 #94835757
2021
LLAW
A
B
C
D
Product Warranty
This Limited Warranty covers any
defects in material or workmanship for
purchases made in the U.S.A. and
Canada, and excludes claims from
conditions, malfunctions or damage
not resulting from defects in material or
workmanship. The warranty duration is
one year.
Garantía de Producto
Esta Garantía Limitada cubre cualquier
defecto en material o fabricación para
compras en EE.UU. y Canadá, y
excluye reclamaciones de condiciones,
mal funcionamiento o daños no
resultantes de defectos en material o
fabricación. La duración de la garantía
es de un año.

Related product manuals