EasyManua.ls Logo

Atlantic F18 - Gebruik Van Het Toestel

Atlantic F18
Print Icon
To Next Page IconTo Next Page
To Next Page IconTo Next Page
To Previous Page IconTo Previous Page
To Previous Page IconTo Previous Page
Loading...
13
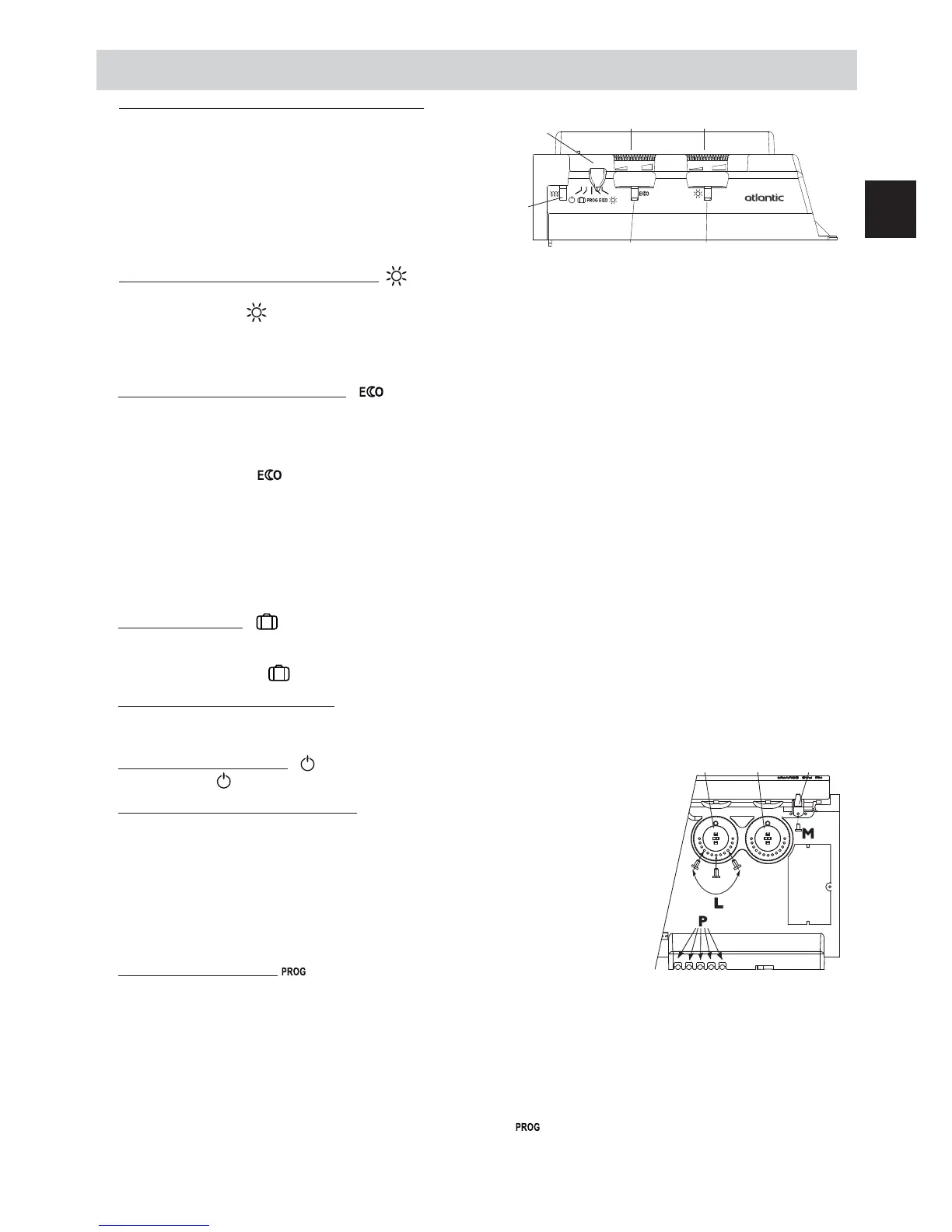
1) Beschrijving van het bedieningselement
2) De comfort temperatuur instellen
De Comfort temperatuur is de gewenste temperatuur terwijl er zich ieman in de kamer bevindt
a) Het schuifknopje
A
in , het controlelampje V3 brandt
b) Zet het wieltje
C
in 5, het controlelampje V1 gaat branden als de kamertemperatuur lager is dan de gewenste temperatuur.
c) Wacht een paar uur tot de temperatuur gestabiliseerd is.
d) Vindt u de ingestelde temperatuur goed (controleer eventueel met behulp van thermometer), markeer de stand definitief.
II-GEBRUIK VAN HET TOESTEL
V2
V2
V3
V3
V1
V1
A
B
C
5
-3,5°
3) De Eco temperatuur instellen :
Het gaat om een daling in graden ten opzichte van de Comfort temperatuur. Het wordt aanbevolen om deze stand te gebruiken
wanneer u langer dan 2 uur afwezig bent of gedurende de nacht.
Let op: omdat deze daling geldt voor de Comfort temperatuur, is het belangrijk dat deze Comfort temperatuur eerst wordt
ingesteld voordat de eco daling wordt ingesteld.
a) Zet schuifregelaar
A
op , het lampje V2 gaat branden.
b) Zet het wieltje B op -3,5°C, het verwarmingslampje V1 gaat branden indien de temperatuur lager ligt dan de gewenste Eco
temperatuur.
c) Wacht een paar uur tot de temperatuur gestabiliseerd is.
d) Vindt u de ingestelde temperatuur goed (controleer eventueel met behulp van thermometer), markeer de stand definitief.
Vindt u de temperatuur niet goed, stel ze dan opnieuw in en herhaal de handelingen vanaf c).
NB. De instelling van de meting op -3,5°C is bepaald in onze laboratoria. Afhankelijk van de kenmerken van uw installatie kan het zijn
dat de instelling van de daling niet precies -3,5°C oplevert. Stel in dit geval de afstelling bij om de gewenste daling te verkrijgen.
4) Functie Vorstvrij :
Dankzij deze functie kan men de temperatuur in de kamer tijdens een vrij lange afwezigheid (meestal meer dan 24 uur) op ongeveer
7°C handhaven.
Plaats het schuifknopje
A
op .
5) Controlelampje verwarming
Dit controlelampje brandt wanneer de verwarmingsweerstand werkt.
Zodra de temperatuur gestabiliseerd is, knippert het en als de temperatuur te hoog komt te liggen, dangaat het uit.
6) Uitzetten verwarming
De Schuifknop
A
in zetten.
7) Blokkering van de bedieningen
Het is mogelijk de gebruik-reikwijdte van de wieltjes B en C te blokkeren of te beperken
en het schuifknopje schakelaar A te blokkeren om ongepaste bedieningen van het
toestel (kinderen, enz…) te beletten.
a) Haak het toestel van zijn wandsteun.
b) Op de achterkant van de thermostaatbehuizing, haal de pionnen P van hun steunen.
c) Kies de positie N om de wieltjes te blokkeren of de positie L om de reikwijdte van
de wieltjes te beperken.
Kies een van de posities M om het schuifknopje te blokkeren in de gewenste modus.
8) Programmeermodus
Dit toestel is uitgerust met een thermostaat die in staat is om instructies te ontvangen via zijn bestuurdraad. Hij herkent de
opdrachten :
- COMFORT : Temperatuur geregeld door het wieltje
C
- COMFORT –1 : Temperatuur geregeld door het wieltje
C
: -1°C
- COMFORT –2 : Temperatuur geregeld door het wieltje
C
: -2°C
- ECO : Temperatuur geregeld door het wieltje B.
- VORSTVRIJ : Omgevingstemperatuur behouden op ongeveer 7°C
- UITZETTEN VERWARMING : Onmiddellijke stilstand van het verwarming (gebruikt voor de ontlading).
Om de programmeermodus te activeren, plaats het schuifknopje A op .
Door zo de bestuurdraad te verbinden met een programmator, kunt u uw temperatuurperiodes Comfort en Eco programmeren.
Het is mogelijk op een programmator meerdere toestellen aan te sluiten en zo energie te besparen.
ABC
N
NL
A Loper van de manieren
B Wieltje voor regelen van de instructie van Eco daling
C
Wieltje voor regelen van de instructie van temperatuur Comfort
V
1
V
erklikkerlamp voor verwarming
V2 Lampje Eco modus
V3 Lampje Comfort modus