EasyManua.ls Logo

AUTO ARC 120 - SECTION 6 - ELECTRICAL DIAGRAMS; CIRCUIT DIAGRAM FOR POWER SOURCE

Default Icon
36 pages
Print Icon
To Next Page IconTo Next Page
To Next Page IconTo Next Page
To Previous Page IconTo Previous Page
To Previous Page IconTo Previous Page
Loading...
PLG
SECTION
6
ELECTRICAL
DIAGRAMS
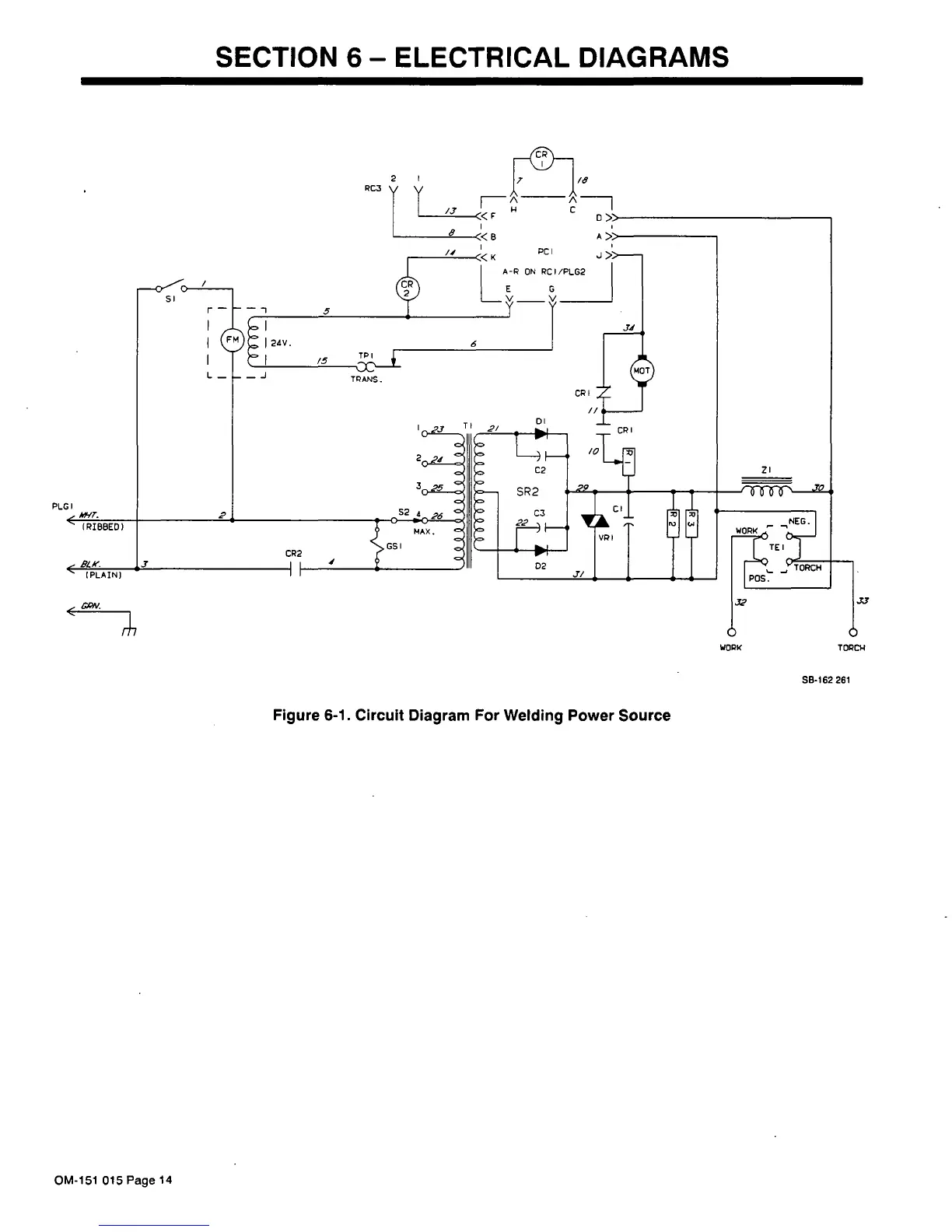
Figure
6-1.
Circuit
Diagram
For
Welding
Power
Source
TORCH
SB-162
261
1~~
WDPK
OM-151
015
Page
14

Related product manuals