EasyManua.ls Logo

Autronica BS-100 - Page 22

Autronica BS-100
30 pages
To Next Page IconTo Next Page
To Next Page IconTo Next Page
To Previous Page IconTo Previous Page
To Previous Page IconTo Previous Page
Loading...
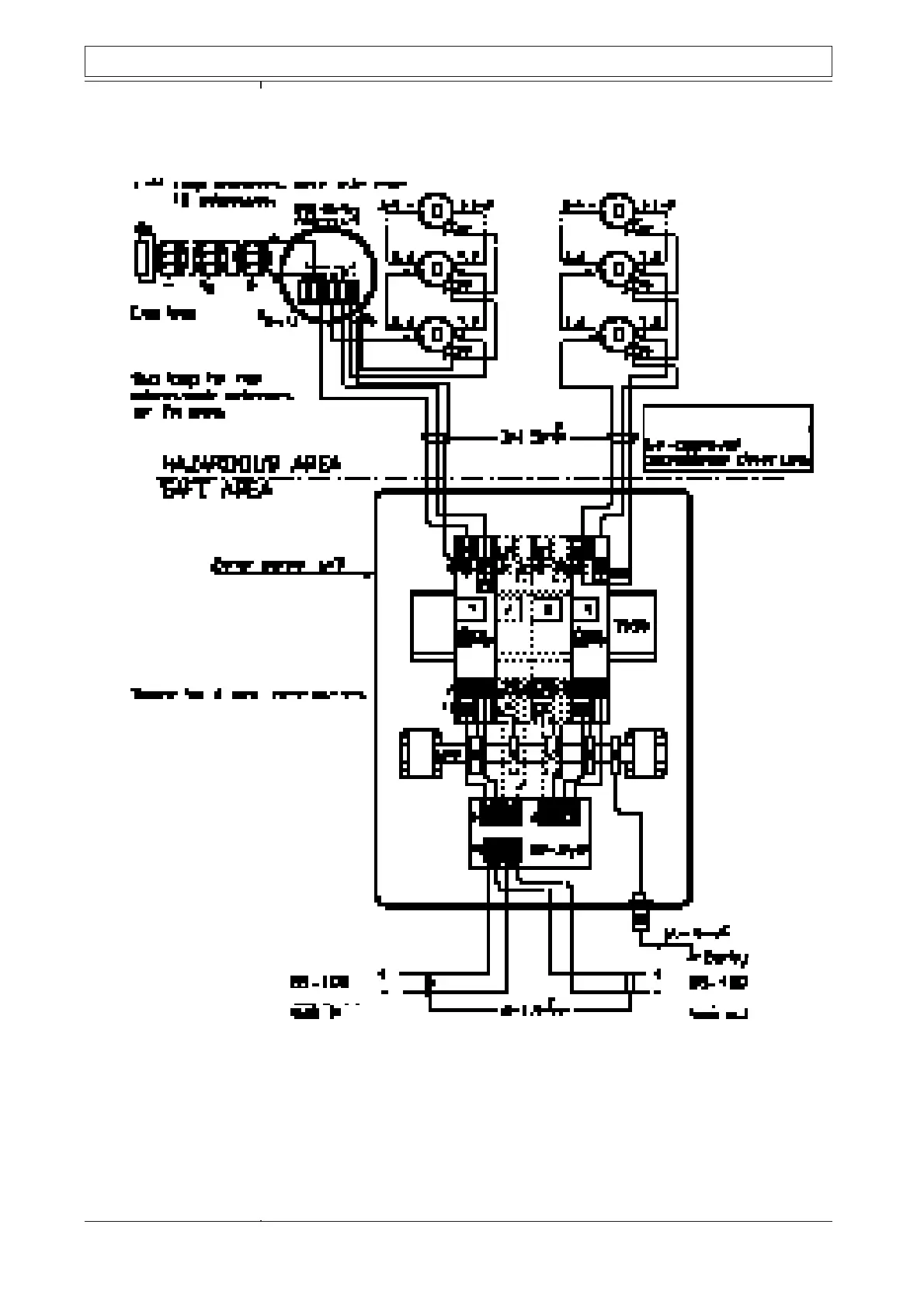
Technical Documentation: Fire Detectors used in hazardous areas
P-DET/EX/RCE/PM5/GKa/110995 22 Autronica Fire and Security AS
BZ-049A
CONNECTION DIAGRAM
ZENER BARRIER UNIT
TYPE BZ-32/1-4
Max 1

Related product manuals