EasyManua.ls Logo

Axis T8342 - Page 12

Axis T8342
30 pages
Print Icon
To Next Page IconTo Next Page
To Next Page IconTo Next Page
To Previous Page IconTo Previous Page
To Previous Page IconTo Previous Page
Loading...
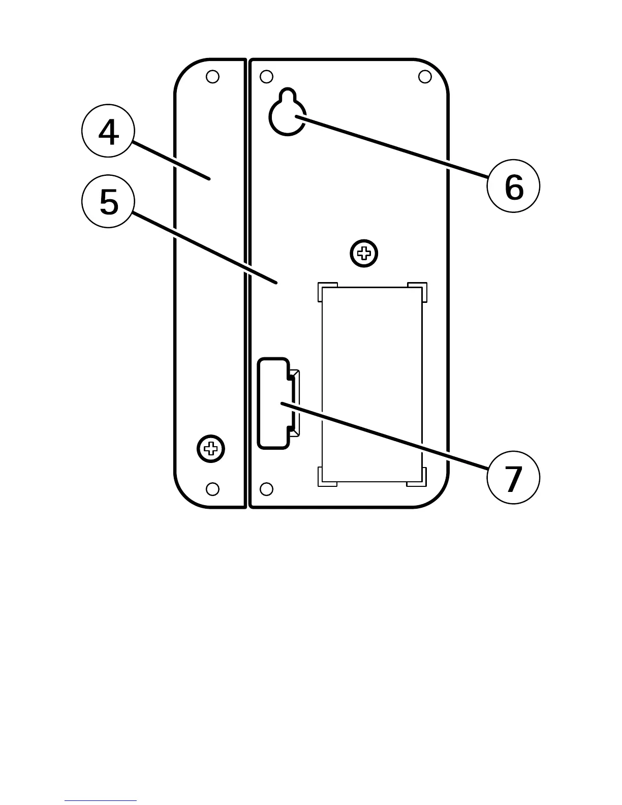
4
Magnet
5
Detector
6
Screwhanger
7
Batteryprotectionlm
12

Other manuals for Axis T8342

Related product manuals