EasyManua.ls Logo

Backyard Discovery Aurora - Fort Assembly Instructions

Backyard Discovery Aurora
51 pages
Print Icon
To Next Page IconTo Next Page
To Next Page IconTo Next Page
To Previous Page IconTo Previous Page
To Previous Page IconTo Previous Page
Loading...
FORT ASSEMBLY
Ǣǻrƻˠ
rˠ
ʹɮˠʺ
ŗˢ
ʹɮˠʺ
Ë˧
ʹɮˠʺ
ōˤ
ʹɮˠʺ
rˡ
ʹɮˠʺ
˟ˡ˦
ʹɮˡʺ
ĵµǢNNJrɟ˚ˡ˃
˟ˢ˟
ʹɮˡʺ
ɟǢËrNJ˚˧ɮˠ˨
˟ˡ˧
ʹɮˢʺ
ĵµǢNNJrɟ˚ˡˠˀˡ˃
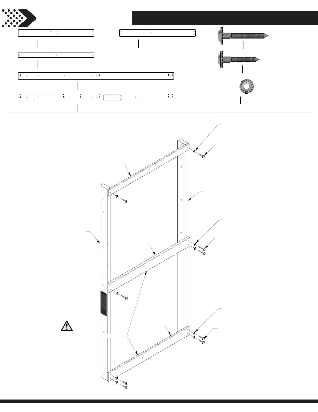
TOP RAIL - W4L13220
5/8"x2 3/8"x36 5/8" (16x60x930)
N3
(1)
LAG SCREW WH
5/16x2 1/2
(3)
H100028
RIGHT FRONT UPRIGHT - W4L15660
1 3/8"x3 3/8"x75" (36x86x1905)
E1
(1)
FLOOR RAIL - W4L13295
1"x3 3/8"x36 5/8" (24x86x930)
H8
(1)
GROUND RAIL - W4L13209
5/8"x3 3/8"x36 5/8" (16x86x930)
M5
(1)
LAG SCREW WH
5/16x2
(6)
H100027
WASHER LOCK
EXT
8x19
(9)
H100030
POST ASSEMBLY - W2A02839
1 7/16"x3 3/8"x75" (36x86x1905)
E2
(1)
˟ˢ˟
ʹɮˢʺ
ɟǢËrNJ˚˧ɮˠ˨
˟ˡ˦
ʹɮˣʺ
ĵµǢNNJrɟ˚ˡ˃
˟ˢ˟
ʹɮˣʺ
ɟǢËrNJ˚˧ɮˠ˨
NOTE HOLE LOCATIONS
28

Related product manuals