EasyManua.ls Logo

Backyard Discovery Mount Triumph - Page 17

Backyard Discovery Mount Triumph
102 pages
Print Icon
To Next Page IconTo Next Page
To Next Page IconTo Next Page
To Previous Page IconTo Previous Page
To Previous Page IconTo Previous Page
Loading...
Parts Identification
Wood Components
(NOT TO SCALE)
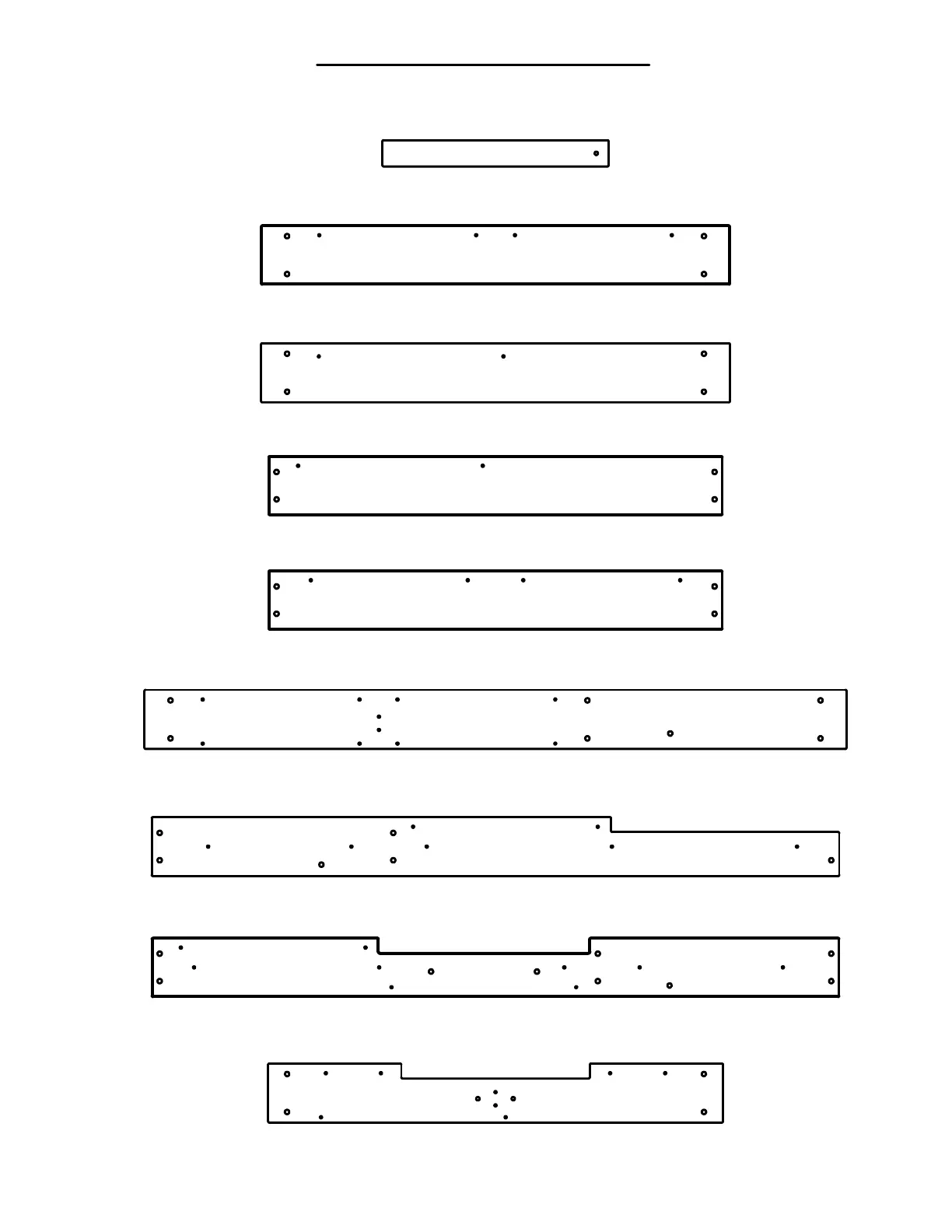
J9 - FLOOR JOIST - W4L07603
1"x2 3/8"x20 1/4" (24x60x513)

K1 - GROUND BOARD - W4L07489
5/8"x5 1/4"x41 7/8" (16x134x1064)

K2 - GROUND BOARD - W4L07490
5/8"x5 1/4"x41 7/8" (16x134x1064)

K3 - GROUND BOARD - W4L07491
5/8"x5 1/4"x40 1/2" (16x134x1030)

K4 - GROUND BOARD - W4L07492
5/8"x5 1/4"x40 1/2" (16x134x1030)

K5 - RIGHT CENTER WALL RAIL - W4L07496
5/8"x5 1/4"x62 3/4" (16x134x1593)

K6 - FRONT CENTER WALL RAIL - W4L07497
5/8"x5 1/4"x61 3/8" (16x134x1560)

K7 - REAR CENTER WALL RAIL - W4L07498
5/8"x5 1/4"x61 3/8" (16x134x1560)

K8 - LEFT CENTER WALL RAIL - W4L07499
5/8"x5 1/4"x40 5/8" (16x134x1032)

16

Related product manuals