EasyManua.ls Logo

Backyard Discovery Mount Triumph - Page 42

Backyard Discovery Mount Triumph
102 pages
Print Icon
To Next Page IconTo Next Page
To Next Page IconTo Next Page
To Previous Page IconTo Previous Page
To Previous Page IconTo Previous Page
Loading...
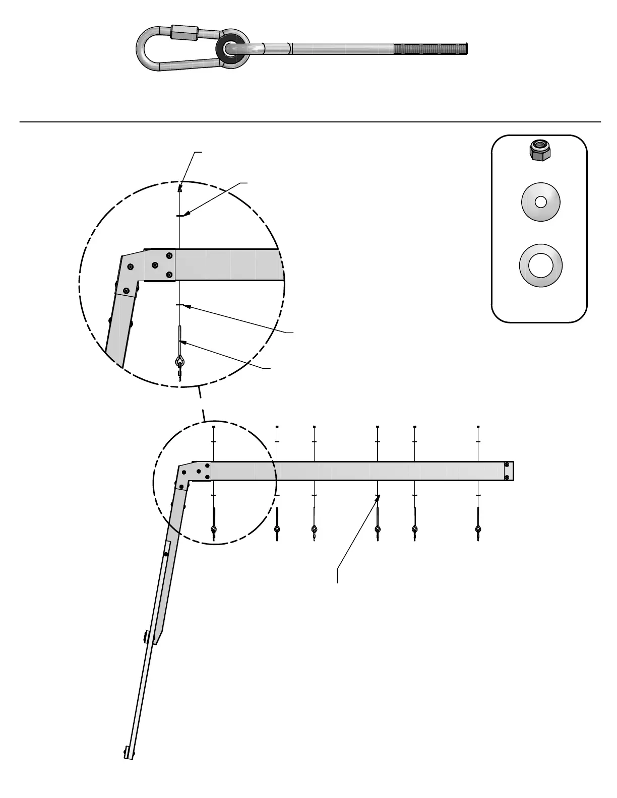
SWING BEAM ASSEMBLY
STEP 4
NUT LOCK 5/16
(6 PLCS)
WASHER FLAT 8x27
(6 PLCS)
WASHER SAFETY 17x30
(6 PLCS)
9 1/2" SWING HANGER QUICK LINK
(6 PLCS)
WASHER
FLAT 8x27
(6)
NUT LOCK
5/16
(6)
BZ - 9 1/2" SWING HANGER QUICK LINK - H100099

WASHER
SAFETY
17x30
(6)
NOTE: AS YOU TIGHTEN MAKE SURE SAFETY WASHERS
GET WEDGED BETWEEN THE BOARD AND SWING HANGER.
41

Related product manuals