EasyManua.ls Logo

Backyard Discovery VICTORIAN INN - PPH103-2017 PLAYHOUSE - SHEET 49

Backyard Discovery VICTORIAN INN
80 pages
Print Icon
To Next Page IconTo Next Page
To Next Page IconTo Next Page
To Previous Page IconTo Previous Page
To Previous Page IconTo Previous Page
Loading...
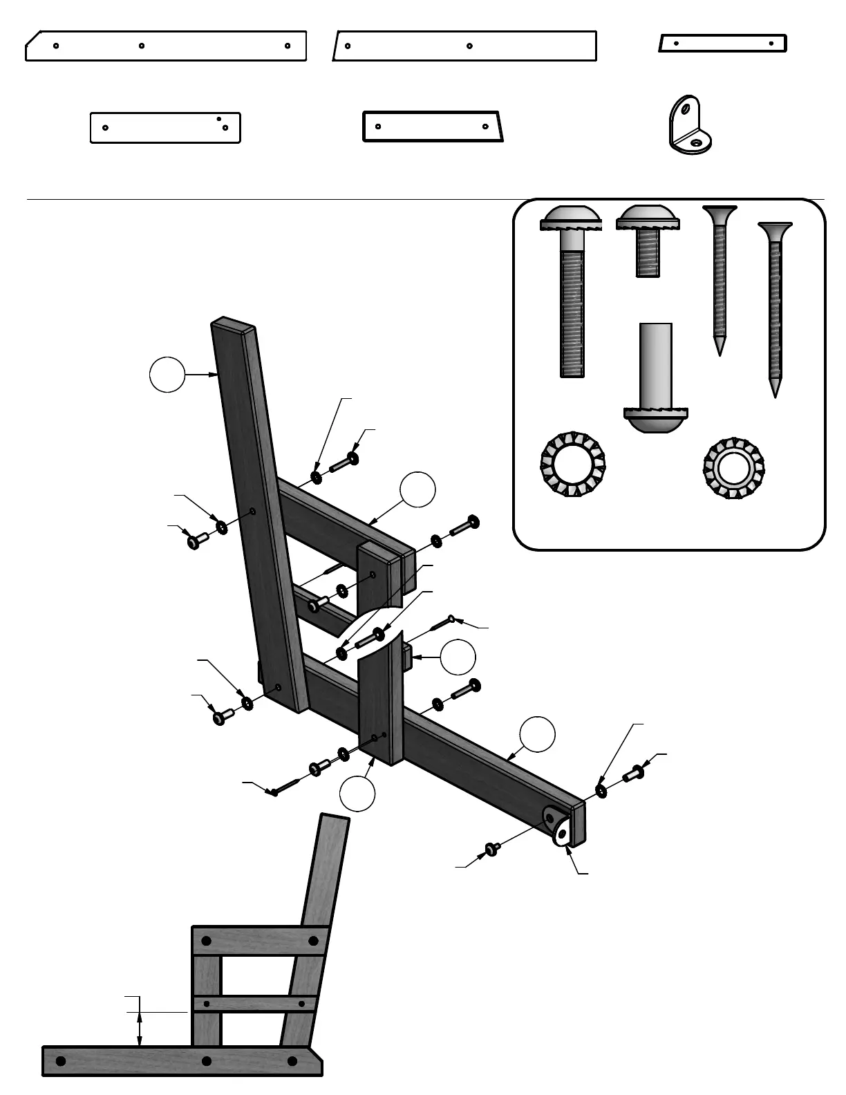
STEP 49:
J3 - BENCH GROUND BOARD - W4L07222
1"x2 3/8"x22 1/2" (24x60x573)
(1)
J4 - BENCH UPRIGHT - W4L07223
1"x2 3/8"x12" (24x60x305)
(1)
J5 - BENCH UPRIGHT - W4L07224
1"x2 3/8"x21 1/8" (24x60x538)
(1)
J6 - BENCH RAIL - W4L07225
1"x2 3/8"x11 1/4" (24x60x285)
(1)
O6 - BENCH RAIL - W4L07226
5/8"x1 3/8"x10 1/4" (16x34x259)
(1)
L BRACKET WHITE 32x51 - A100133
(1)
SCREW PFH
8x1 1/2
(2)
SCREW PFH
8x1 3/4
(1)
WASHER
LOCK EXT
6x15
(4)
NUT BARREL
WH 1/4x7/8
(5)
BOLT WH
1/4x1/2
(1)
BOLT WH
1/4x1-1/2
(4)
WASHER
LOCK EXT
8x15
(5)
NUT BARREL WH 1/4x7/8
(2 PLCS)
WASHER LOCK EXT 8x15
(2 PLCS)
WASHER LOCK EXT 6x15
(2 PLCS)
BOLT WH 1/4x1-1/2
(2 PLCS)
SCREW PFH 8x1 1/2
(2 PLCS)
SCREW PFH 8x1 3/4
(1 PLC)
NUT BARREL WH 1/4x7/8
(2 PLCS)
WASHER LOCK EXT 8x15
(2 PLCS)
WASHER LOCK EXT 6x15
(2 PLCS)
BOLT WH 1/4x1/2
(1 PLC)
L BRACKET WHITE 32x51
(1 PLC)
WASHER LOCK EXT 8x15
(1 PLC)
NUT BARREL WH 1/4x7/8
(1 PLC)
BOLT WH 1/4x1-1/2
(2 PLCS)
2 3/4"
J5
J6
O6
J4
J3

Table of Contents

Related product manuals