EasyManua.ls Logo

Balt 34459 - Bottom Platform and Panel Attachment

Balt 34459
8 pages
Print Icon
To Next Page IconTo Next Page
To Next Page IconTo Next Page
To Previous Page IconTo Previous Page
To Previous Page IconTo Previous Page
Loading...
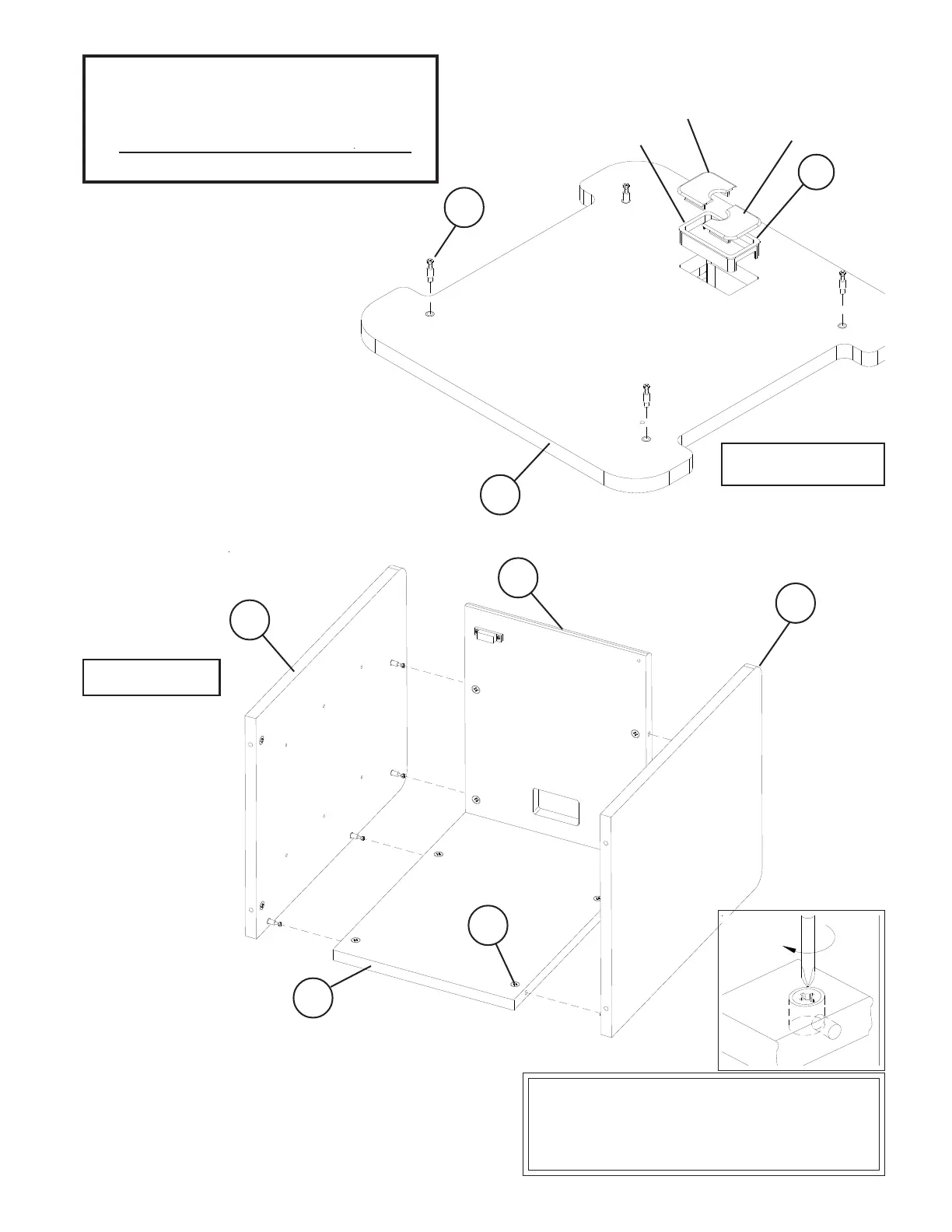
5
Illustration # 5
Attach Side Panels (P-1 & P-2) to the Back
Panel (P-3) and the Top Panel (P-4) as shown
in illustration # 6. Secure by turning the Cam
Locks (C) 1/4” Turn until they lock.
Illustration # 6
To Secure Cam Locks, Insert Large
Phillips Head Screwdriver and turn Cam
Lock 1/4 turn (90 degrees) clockwise.
Place the Bottom Platform (P-5)
with the Predrilled holes facing up
and install 4 each Cam Posts (D)
in the pre-drilled holes as shown
in illustration # 5.
D
P-5
P-1
P-4
P-2
P-3
12.
11.
C
Missing Parts or UPS Damaged Parts
For Your Convenience you can
EMAIL us at
support@moorecoinc.com
24HOURS 7 DAYS A WEEK
To install Grommet (F) in Bottom
Platform (P-5), separate parts and
press Grommet Sleeve in rectangular
opening as shown in illustration # 5.
Snap 2 plastic Caps over top of
Sleeve as shown in illustration # 5.
Cap
Cap
Sleeve
F
14.
13.

Related product manuals