EasyManua.ls Logo

Bardiani ZQ - Drawings

Default Icon
36 pages
Print Icon
To Next Page IconTo Next Page
To Next Page IconTo Next Page
To Previous Page IconTo Previous Page
To Previous Page IconTo Previous Page
Loading...
The Company BARDIANI VALVOLE reserves the right to modify its products at any time without prior notice.
(GB-IST-ZQ-0413) 31/36
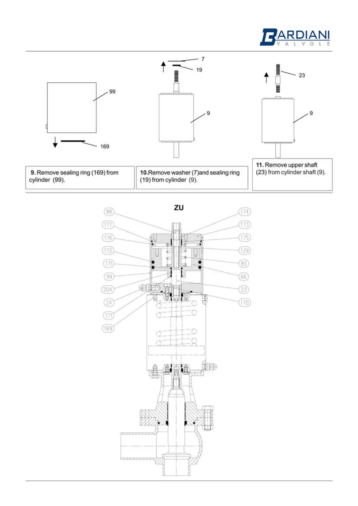
15. Disassembly of ZU (cyl.108--130)

Related product manuals