EasyManua.ls Logo

Baumatic B230CH-A - Page 25

Baumatic B230CH-A
36 pages
Print Icon
To Next Page IconTo Next Page
To Next Page IconTo Next Page
To Previous Page IconTo Previous Page
To Previous Page IconTo Previous Page
Loading...
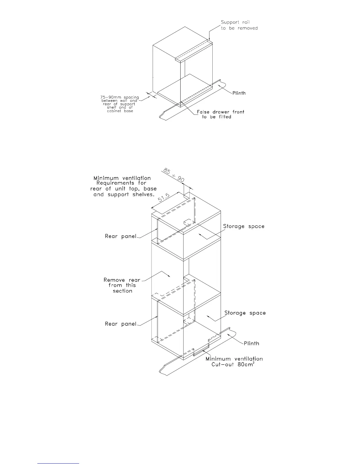
Fig. 5: Ventilation and cut-out requirements for installation of a
Single electric oven into a tall housing unit.
Fig. 4: Ventilation and cut-out requirements for installation of a
Single electric oven into a standard kitchen unit.
21

Related product manuals