EasyManua.ls Logo

Baumatic BE600GL - Positioning Upper Chimney Section; Marking Chimney Bracket Holes

Baumatic BE600GL
32 pages
Print Icon
To Next Page IconTo Next Page
To Next Page IconTo Next Page
To Previous Page IconTo Previous Page
To Previous Page IconTo Previous Page
Loading...
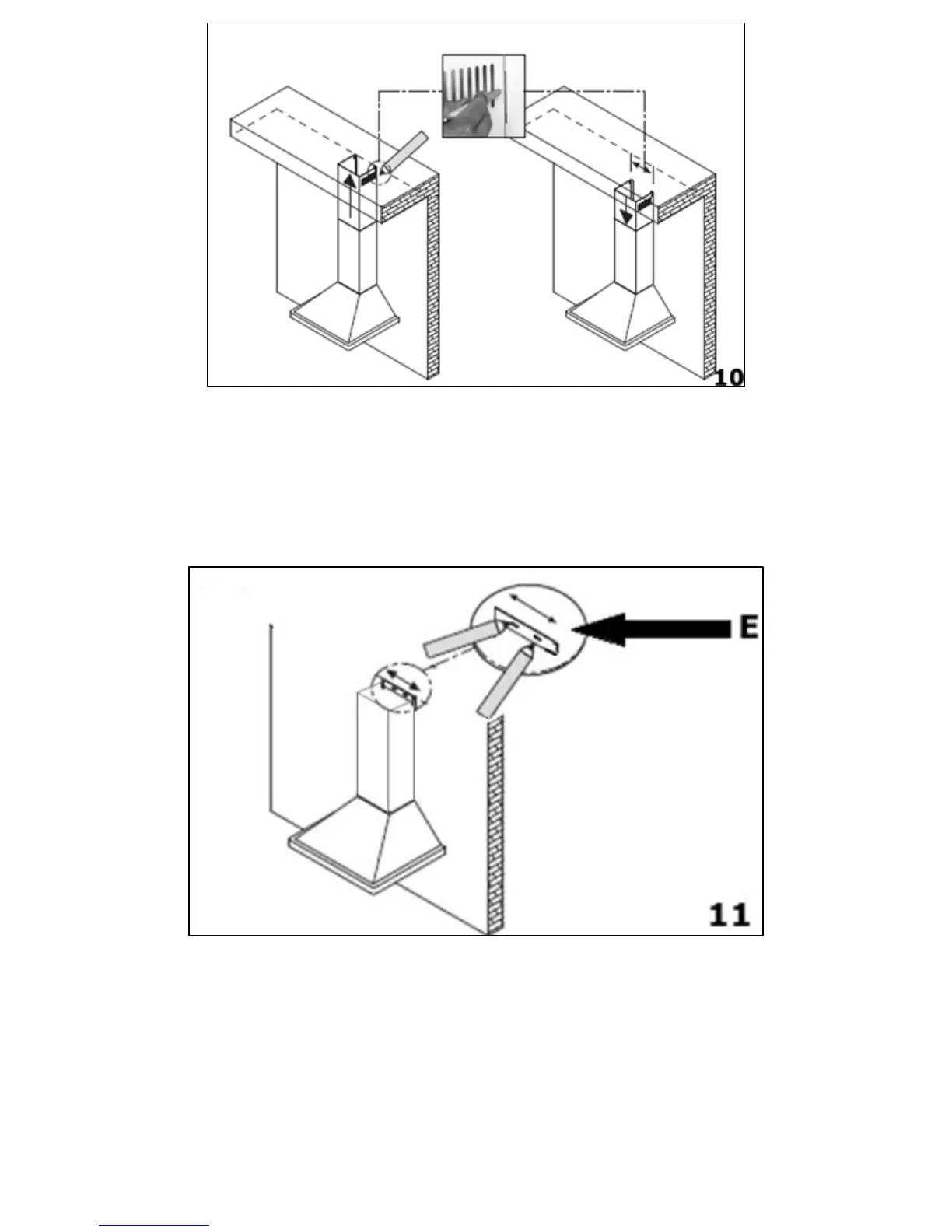
10) Lift chimney section (D) upwards until it reaches the ceiling. You
must ensure that it is perpendicular to the hood.
o Mark the side measurements of both sides of chimney section
(D) on the wall with a pencil and then remove chimney section
(D).
11) Take the flat bracket (E) and place it between the two pencil
marks that you made in step 9
o Keeping the bracket in contact with the wall, use a pencil to
mark on the wall the anchoring holes that are cut out of the
bracket.
24

Related product manuals