EasyManua.ls Logo

Baumatic BHI615 - Mains Supply Cable Connection

Baumatic BHI615
36 pages
Print Icon
To Next Page IconTo Next Page
To Next Page IconTo Next Page
To Previous Page IconTo Previous Page
To Previous Page IconTo Previous Page
Loading...
o The spur outlet must still be accessible even when your hob is
located in its operating position.
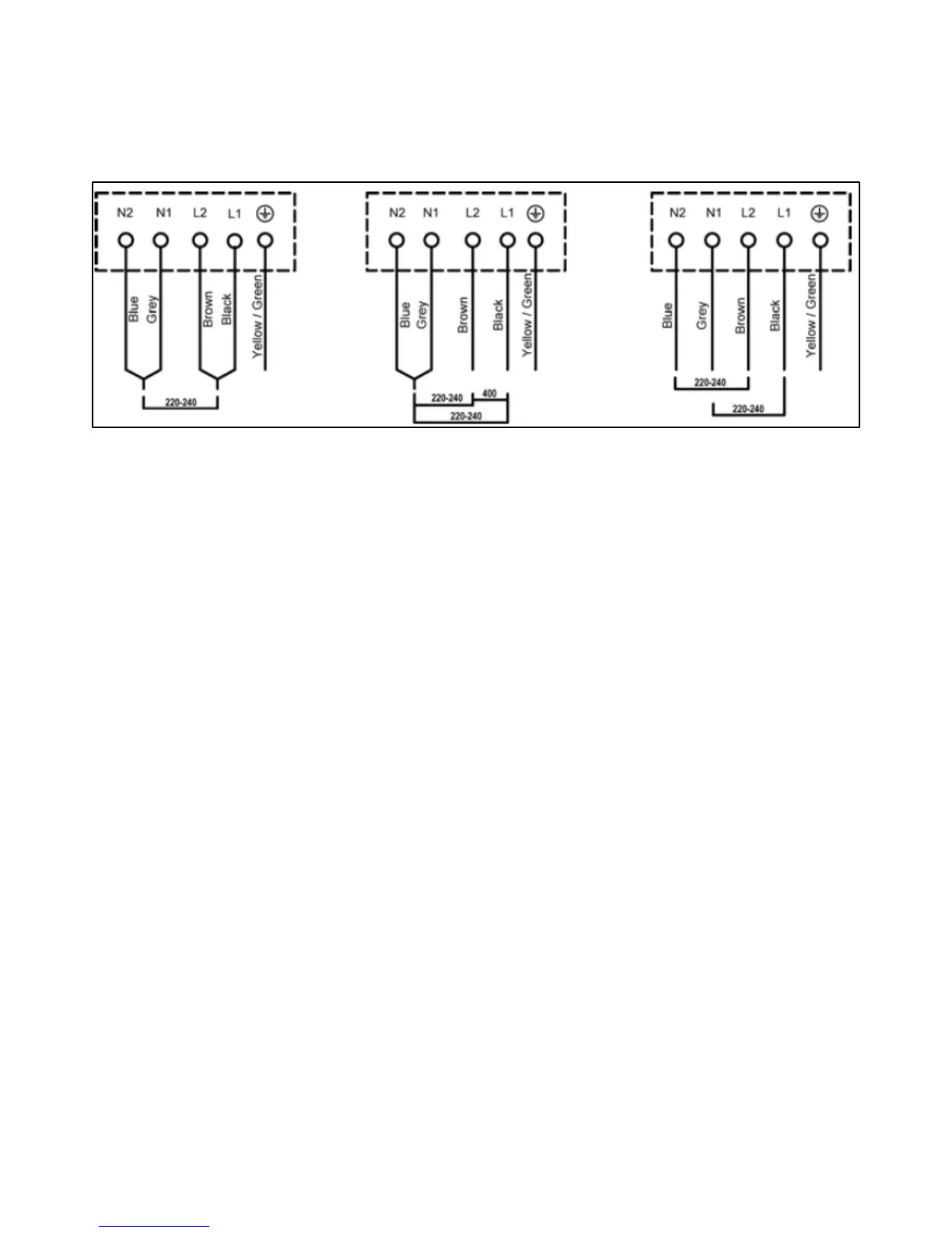
o Cable type: H05 RRF 3 core x 6 mm²
Connecting the mains supply cable
o The mains terminal block is located on the underside of the hob
and the terminals are accessible by removing the terminal block
cover by removing the cover screw. IMPORTANT: The power
cable is not supplied with the appliance.
o The brass links must be positioned as shown in the diagram
above and once established ALL terminal screws must be
tightened down firmly.
o You should use a good quality screwdriver to carefully, fully
tighten ALL of the terminal screws.
o If when the hob is first switched on, only two of the zones
work, you should recheck that the terminal screws are all
fully tightened. This should be done before contacting the
Customer Care Department.
o IMPORTANT: The appliance must NOT be connected to the
mains supply by means of a 13A plug and socket.
o The cable can be looped if necessary, but make sure that is not
kinked or trapped when the hob is in position. Care must be
taken to avoid the cable being in contact with hot parts of the
appliance.
27

Related product manuals