EasyManua.ls Logo

Baumatic BTI9170GL - Product Specifications

Baumatic BTI9170GL
32 pages
Print Icon
To Next Page IconTo Next Page
To Next Page IconTo Next Page
To Previous Page IconTo Previous Page
To Previous Page IconTo Previous Page
Loading...
8
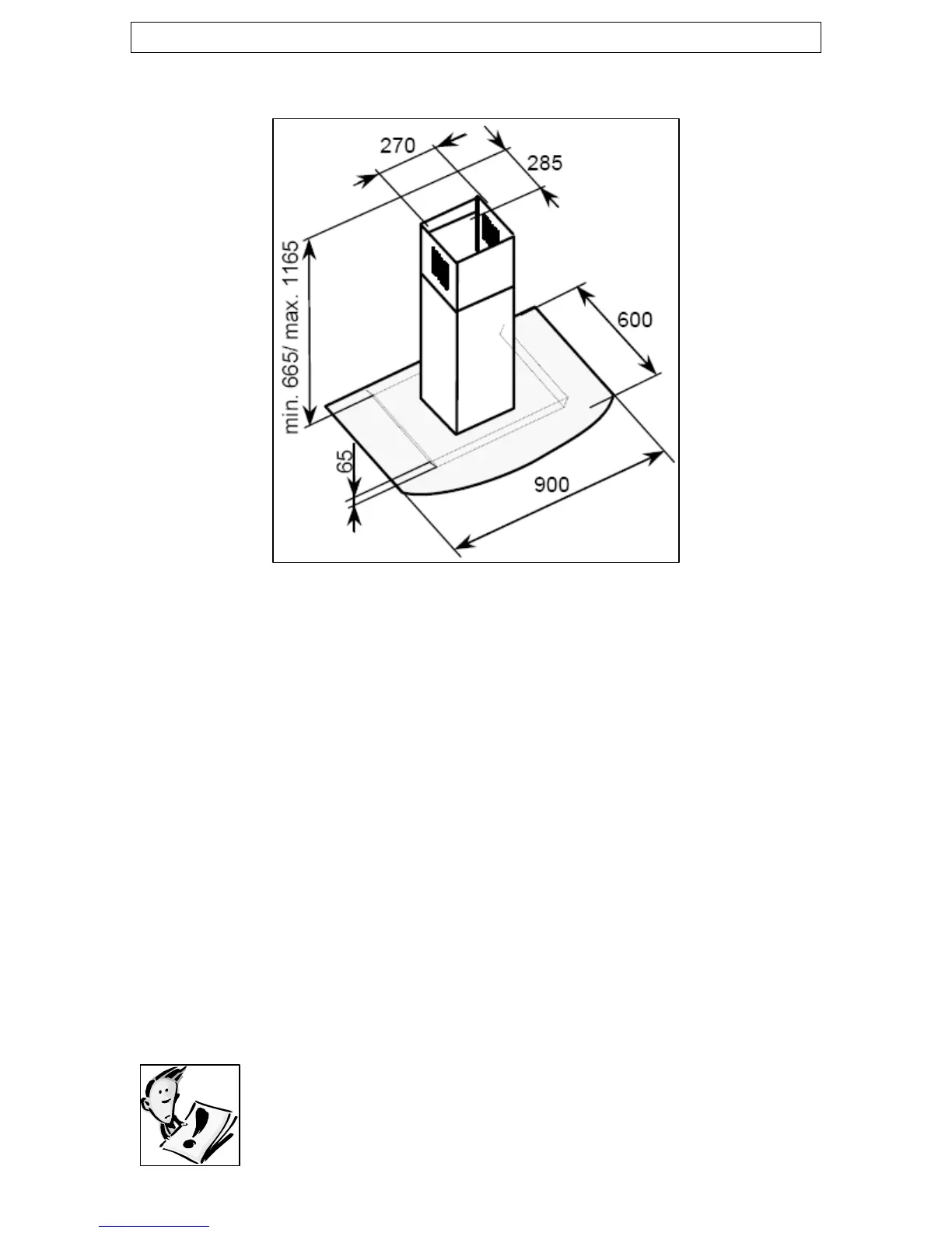
Specifications of your cooker hood
Congratulations on purchasing a Baumatic cooker hood!
PRODUCT DIMENSIONS
Height: 665 mm * – 1165 mm
Width: 900 mm
Depth: 600 mm
DIMENSIONS OF CHIMNEY SECTION
270 mm x 285 mm
o High extraction tangential motor
o LCD display
o Touch control operation
o 3 Speeds
o 2 Metallic grease filters
o 4 Halogen lights
o Extraction capacity: 1000 m³/hr
o Optional extra: 1 x SQ2 Carbon filter required for
recirculation mode
* IMPORTANT: Please see the positioning
instructions on pages 18 - 19 to obtain precise
information on the height requirements for this
product.

Related product manuals