EasyManua.ls Logo

Baumatic BWD1100W - Detergent Drawer

Baumatic BWD1100W
36 pages
Print Icon
To Next Page IconTo Next Page
To Next Page IconTo Next Page
To Previous Page IconTo Previous Page
To Previous Page IconTo Previous Page
Loading...
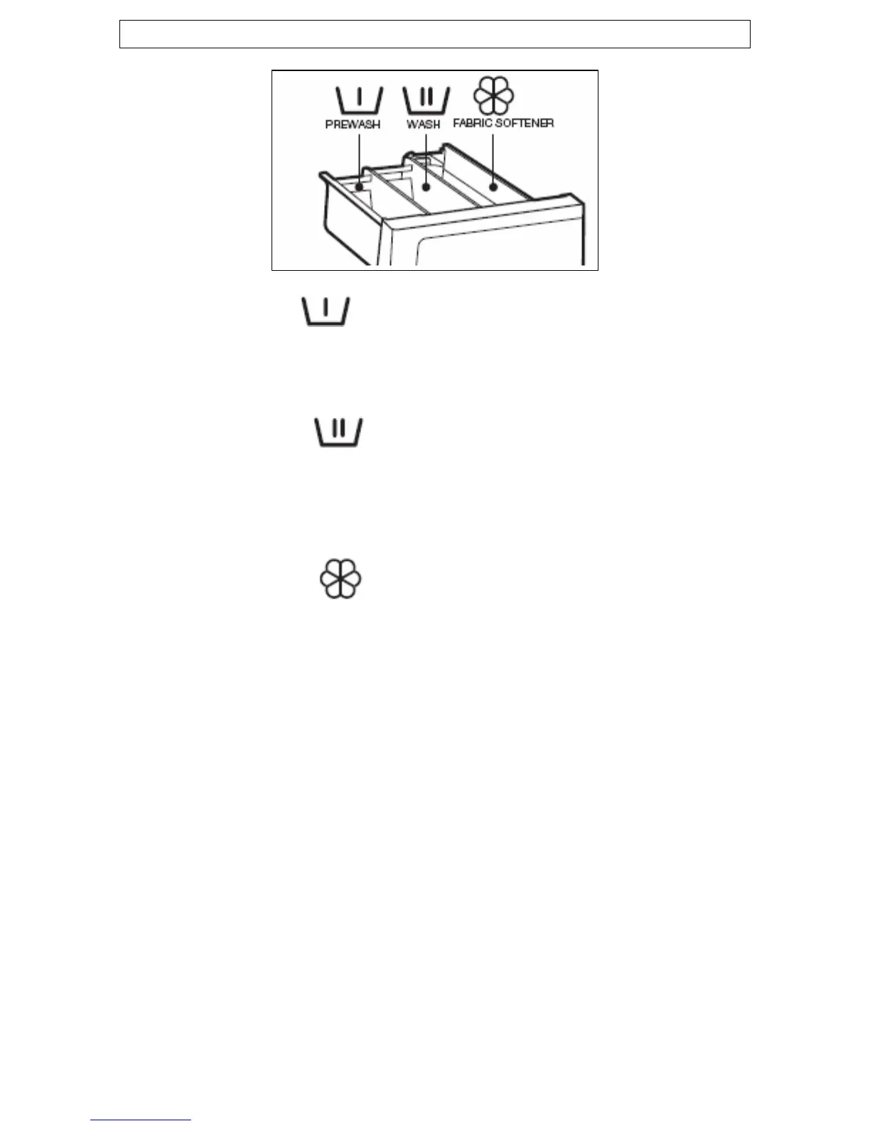
Detergent drawer
Pre wash section
This compartment should have detergent placed in, if you are going to
select a wash program that has a pre wash as part of it.
Main wash section
This compartment should have detergent placed in it (you should also
put a water softening agent in this section, if you use one). The
detergent will be added to the drum at the start of the main wash
program.
Conditioner section
This compartment should be used for liquid conditioners (fabric
softener, starch). They will be added to the wash load during the final
rinse.
11

Related product manuals