EasyManua.ls Logo

Baumatic PECM1SS - Cabinet Fitting and Dimensions

Baumatic PECM1SS
36 pages
Print Icon
To Next Page IconTo Next Page
To Next Page IconTo Next Page
To Previous Page IconTo Previous Page
To Previous Page IconTo Previous Page
Loading...
26
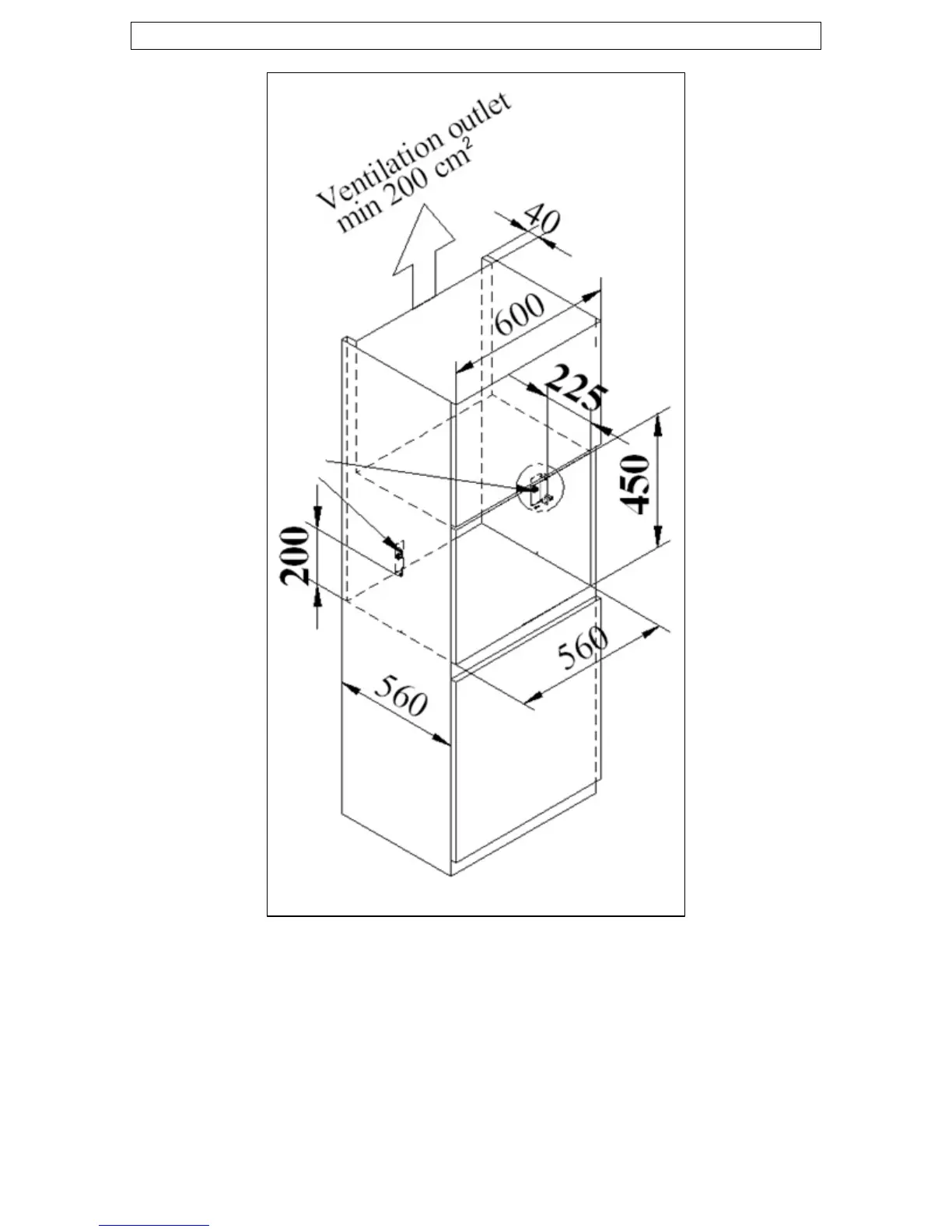
Installing the espresso maker into a kitchen cabinet
o Ensure that the aperture that you will be fitting the coffee
machine into is of the size given in the diagram above.
o Ensure that the rear panel of the furniture housing unit has been
removed and that the ventilation cut out shown is adhered to.