EasyManua.ls Logo

BCS PowerSafe 730 PS - Page 45

Default Icon
73 pages
Print Icon
To Next Page IconTo Next Page
To Next Page IconTo Next Page
To Previous Page IconTo Previous Page
To Previous Page IconTo Previous Page
Loading...
43
IT
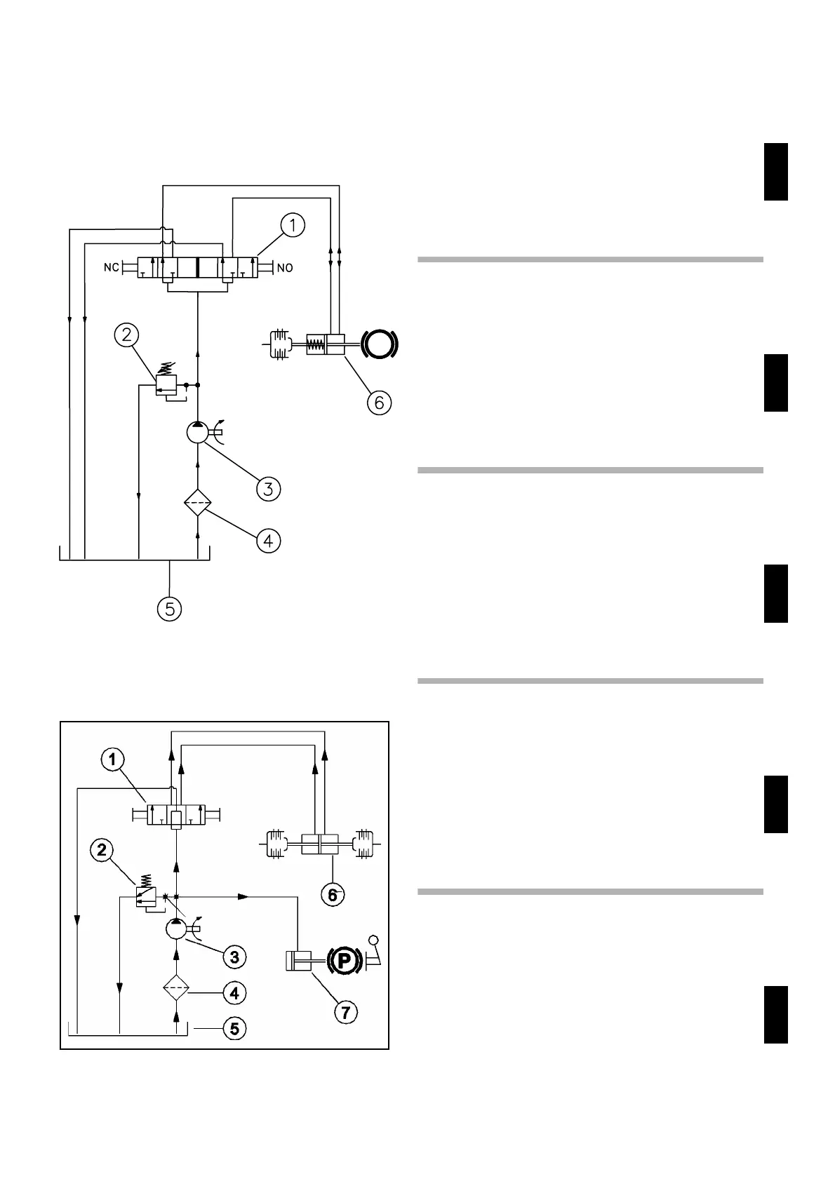
1. Distributore
2. Valvola di massima
3. Pompa
4. Filtro
5. Scatola cambio
6. Attuatore frizioni
EN
1. Distributor
2. High pressure switch
3. Pump
4. Filter
5. Gearbox
6. Clutch actuator
FR
1. Distributeur
2. Vanne de maximum
3. Pompe
4. Filtre
5. Boîte de changement de vitesses
6. Actuateur d'embrayage
ES
1. Distribuidor
2. Válvula de máxima
3. Bomba
4. Filtro
5. Caja de cambio
6. Accionador embrague
DE
10.4 Schema idraulico - Hydraulic diagram - Schéma
hydraulique - Esquema hídraulico - Hydrauli-
sche schema
PowerSafe
fig.26
PowerSafe + EasyDrive
730
1. Verteiler
2. Höchstflussventile
3. Pumpe
4. Filter
5. Getriebegehäuse
6. Kupplungenantrieb

Related product manuals