EasyManua.ls Logo

Beamz SHOWBAR - Unpacking Instruction; Power Supply; DMX 512 Connection; Configuration (Standalone)

Beamz SHOWBAR
20 pages
Print Icon
To Next Page IconTo Next Page
To Next Page IconTo Next Page
To Previous Page IconTo Previous Page
To Previous Page IconTo Previous Page
Loading...
5
UNPACKING INSTRUCTION
CAUTION! Immediately upon receiving the product, carefully unpack the carton, check the contents to ensure that all parts are
present, and have been received in good condition. Notify the shipper immediately and retain packing material for inspection if
any parts appear damage from shipping or the package itself shows signs of mishandling. Save the package and all packing
materials. In the event that the product must be returned to the factory, it is important that the product be returned in the original
factory box and packing.
If the device has been exposed to drastic temperature fluctuation (e.g. after transportation), do not switch it on immediately. The
arising condensation water might damage your device. Leave the device switched off until it has reached room temperature.
POWERSUPPLY
On the label on the backside of the product is indicated on this type of power supply must be connected. Check that the mains
voltage corresponds to this, all other voltages than specified, the light effect can be irreparably damaged. The product must also
be directly connected to the mains and may be used. No dimmer or adjustable power supply.
Always connect the device to a protected circuit (circuit breaker or fuse). Make sure the device has an appropriate
electrical ground to avoid the risk of electrocution or fire.
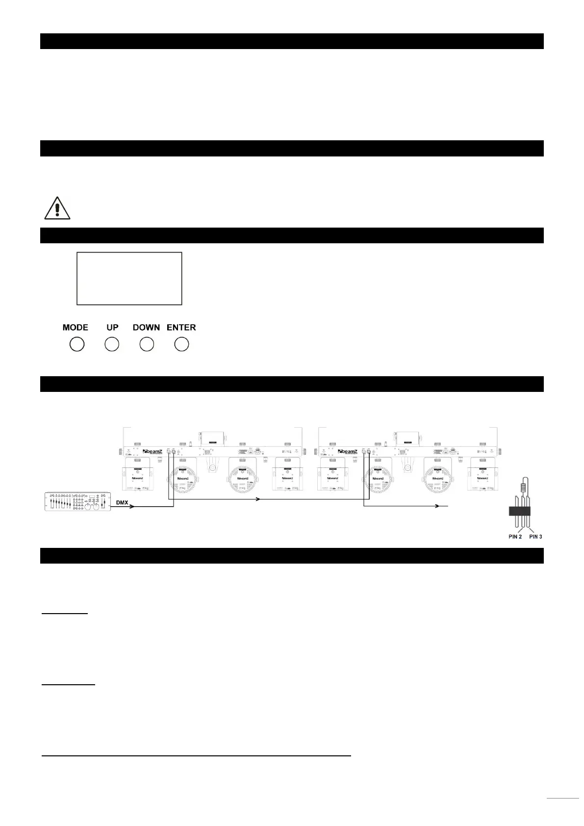
DISPLAY
The control board offer several features: you can simple set the starting address,
run the pre-programmed program or make a reset. The main menu is accessed
by pressing the Mode-button, browse through the submenu by pressing Up or
Down.
Press the Enter-button in order to select the desired menu.
You can change the selection by pressing Up or Down. Confirm every selection
by pressing the Enter-button.
You can leave every mode by pressing the Mode-button. The functions provided
are described later in this manual.
DMX-512 CONNECTION
If you are using a standard DMX controller, you can connect the DMX-output of the controller directly to the DMX-input of the
first unit in a DMX-chain. Always connect the output of one unit with the input of the next unit until all units are connected.
If you use a controller with 5 pin DMX connection you will need to use a 5-pin to 3-pin adapter.
At the last fixture, the DMX cable has to be terminated. Solder a 120 Ohm resistor between signal (-) and signal (+)
into a 3-pin XLR connector and plug this into the DMX output of the last fixture in the chain.
CONFIGURATION STAND ALONE
Set the product in one of the standalone modes to control without a DMX controller.
Never connect a product that’s operating in standalone mode with DMX-chain. Product can interference on DMX signal.
Auto mode
To enable the auto effect (Automatic All) mode:
1. Press <MENU> repeatedly until “AUTO” blinks on the display.
2. Press <ENTER>
3. Press <UP> or <DOWN> to select the desired Automatic mode (AU01 or AU02).
4. Press <ENTER> to put the fixture into the selected Auto-Active mode.
Sound mode
To enable the sound effect (Sound-Active All) mode:
1. Press <MENU> repeatedly until SOND blinks on the display.
2. Press <ENTER>
3. Press <UP> or <DOWN> to select the desired Sound-Active mode (So01, So02 or So03).
4. Press <ENTER> to put the fixture into the selected Sound-Active mode.
Note: The product will only respond to low music frequencies (bass and drums).

Related product manuals