EasyManua.ls Logo

Becker Centronic SunWindSet SWS42 - SETTING; WIND MONITORING; TIME END POSITION; TIME INTERM POS

Becker Centronic SunWindSet SWS42
Print Icon
To Next Page IconTo Next Page
To Next Page IconTo Next Page
To Previous Page IconTo Previous Page
To Previous Page IconTo Previous Page
Loading...
44
Assembly and Operating Instructions
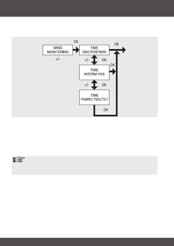
SETTING
WIND MONITORING, TIME END POSITION, TIME INTERM POS, TIME FABRIC
TEN/TILT
1. You have conrmed the menu option WINTER OFF/ON.
WIND MONITORING appears.
2. Use the +/- button to adjust the wind setting. (The two left-hand gures on the
display show the current wind setting)
3. Press OK to conrm. TIME END POSITION appears.
4. Use the +/- button to choose between TIME END POSITION, TIME INTERM
POS, TIME FABRIC TEN/TILT.
Note
This function allows you to select the position into which the awning/
venetian blind will be moved when the pre-set time is reached.
5. Press OK to conrm your selection.
6. The TIME END POSITION function is now set.
7. For further programming options in the SETTING menu refer to the next sec-
tion.

Related product manuals