EasyManua.ls Logo

Belarus 920.4 - Adjustment of Hydraulic Drive

Default Icon
58 pages
Print Icon
To Next Page IconTo Next Page
To Next Page IconTo Next Page
To Previous Page IconTo Previous Page
To Previous Page IconTo Previous Page
Loading...
BELARUS-920.4/952.4 Operating manual
36
2.4.3.2
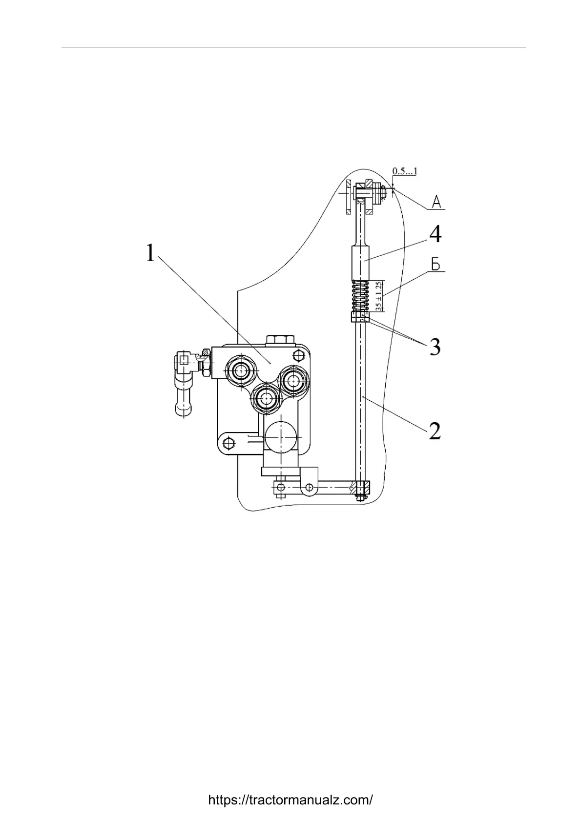
Adjustment of trailer brake hydraulic drive
Adjustment of trailer brake hydraulic drive consists in adjustment of pull-rod 2 (Fig. 2.9) of
brake valve 1. Dimension A (0.5 to 1 mm, between the finger and the upper edges of the grooves
in the arms) should be checked, when service brake pedals are released, while changing it by
means of the end 2 of the pull-rod 4 rotation. Dimension B (35 ± 1.25 mm) between lower edge of
the end 4 and upper nut 3 (Fig. 2.9) should be secured through rotation of nuts 3 and locking them
after the adjustment.
1 – brake valve; 2 – pull-rod; 3 – nut; 4 – rod end
Figure 2.9 Adjustment of brake valve pull-rod
ATTENTION: ADJUST THE BRAKE VALVE DRIVE WHEN THE SERVICE BRAKE
PEDALS ARE NOT PRESSED AND THE PARK EMERGENCY BRAKE IS COMPLETELY
DISENGAGED, WHICH MUST BE ADJUSTED FIRST.
https://tractormanualz.com/

Table of Contents

Related product manuals