EasyManua.ls Logo

Beninca DU.35 - Page 5

Beninca DU.35
14 pages
Print Icon
To Next Page IconTo Next Page
To Next Page IconTo Next Page
To Previous Page IconTo Previous Page
To Previous Page IconTo Previous Page
Loading...
5
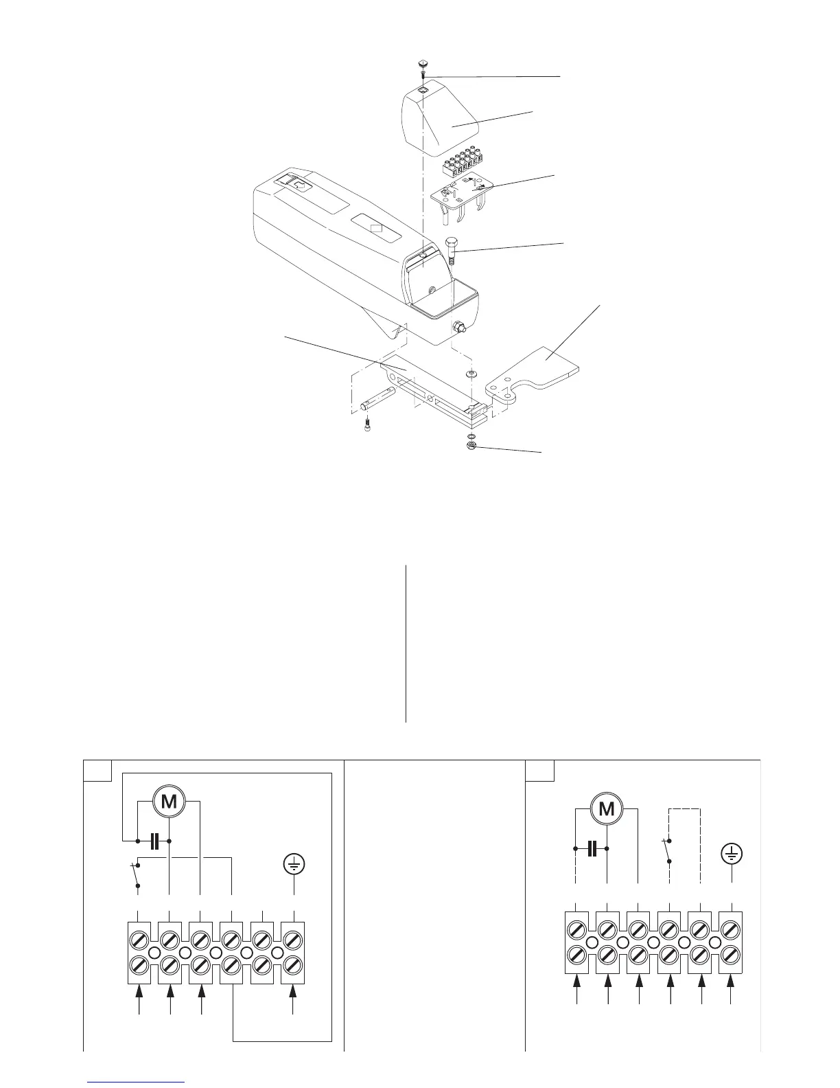
Рис.3
R
M
V
P
U
D
Винт Ø3.9 UNI 6955.
Screw Ø3.9 UNI 6955.
Подключения - Connections
Рис. А стандартный электромонтаж - конец хода открытия
(FCO) преривает соответствующие фазы двигателя.
Fig. A Standard wiring - the opening limit switch (FCO)
interrupts the motor phase.
Рис. В для подключения конца хода открытия (FCO) к блоку
изменить подключения как указано.
Fig.B To connect the opening limit switch (FCO) to the control
unit, modify the connections as indicated.
1 2 3 4 5 6
F1
F2
C
F2
F1
COM
COM
GND
FCO
1 2 3 4 5 6
F1
F1
Open
F2
Close
COM
Comune motore
F2
C
F2
F1
COM
COM
FCO
GND
FCO
A B
Общий двигателя
Закрытие
Открытие

Related product manuals