EasyManua.ls Logo

BenQ mp612 - Remote Control

BenQ mp612
63 pages
Print Icon
To Next Page IconTo Next Page
To Next Page IconTo Next Page
To Previous Page IconTo Previous Page
To Previous Page IconTo Previous Page
Loading...
Introduction14
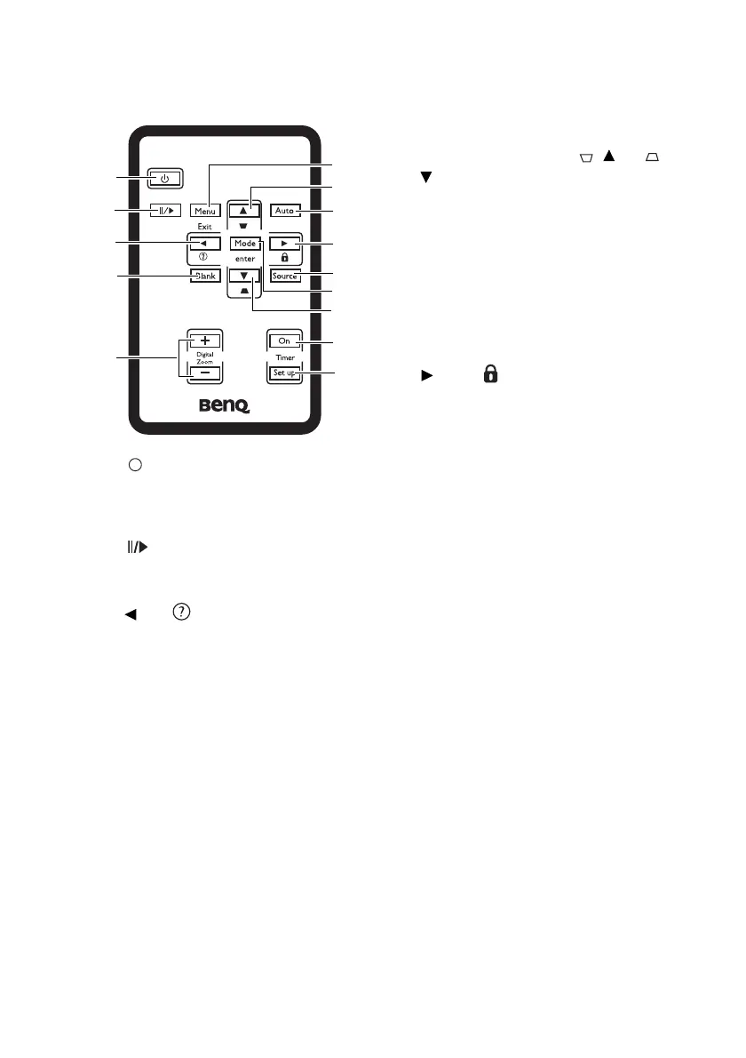
Remote control
1. Power
Toggles the projector on or off.
See "Start up" on page 26 and "Shutting
down the projector" on page 40 for details.
2. Freeze
Freezes the projected image. See "Freezing
the image" on page 38 for details.
3. Left/
Starts the FAQ function. See "Utilizing
FAQ function" on page 39 for details.
4. BLANK
Used to hide the screen image. To restore
the image, press any button on the
projector or remote control. See "Hiding
the image" on page 38 for details.
5. DIGITAL ZOOM buttons (+, -)
Magnifies or reduces the projected image
size. See "Magnifying and searching for
details on the projected picture" on page
31 for details.
6. MENU/exit
Turns on the On-Screen Display (OSD)
menu.
Goes back to previous OSD menu, exits
and saves menu settings.
See "Using the menus" on page 44 for
details.
7. Keystone/Arrow buttons ( / Up, /
Down)
Manually corrects distorted images
resulting from an angled projection. See
"Correcting keystone" on page 31 for
details.
8. AUTO
Automatically determines the best picture
timings for the displayed image. See
"Auto-adjusting the image" on page 30 for
details.
9. Right/
Activates panel key lock. See "Panel Key
Lock" on page 48 for details.
When the On-Screen Display (OSD)
menu is activated, the #3, #7 and #9
buttons are used as directional arrows to
select the desired menu items and to
make adjustments. See "Using the menus"
on page 44 for details.
10. SOURCE
Sequentially selects the input signal D-
Sub/Comp. (Component Video), Video,
or S-Video. See "Switching input signal"
on page 29 for details.
11. MODE/enter
Depending upon which input signal is
selected, selects an available picture setup
mode. See "Selecting a picture mode" on
page 33 for details.
Enacts the selected On-Screen Display
(OSD) menu item. See "Using the menus"
on page 44 for details.
12. Timer On
Activates or displays an on-screen timer
based on your own timer setting. See
"Setting the presentation timer" on page
36 for details.
13. Timer Setup
Enters presentation timer setting directly.
See "Setting the presentation timer" on
page 36 for details.
1
2
3
4
5
6
12
13
8
9
10
11
7
7
I
I

Table of Contents

Other manuals for BenQ mp612

Related product manuals