EasyManua.ls Logo

BenQ TH682ST - Selecting and Understanding Aspect Ratio

BenQ TH682ST
59 pages
Print Icon
To Next Page IconTo Next Page
To Next Page IconTo Next Page
To Previous Page IconTo Previous Page
To Previous Page IconTo Previous Page
Loading...
Operation 25
2. Press Aspect repeatedly to select an aspect ratio to suit the format of the video
signal and your display requirements.
Using the OSD menu
1. Press MENU/EXIT and then press / until the DISPLAY menu is highlighted.
2. Press
to highlight Aspect Ratio.
3. Press / to select an aspect ratio to suit the format of the video signal and your
display requirements.
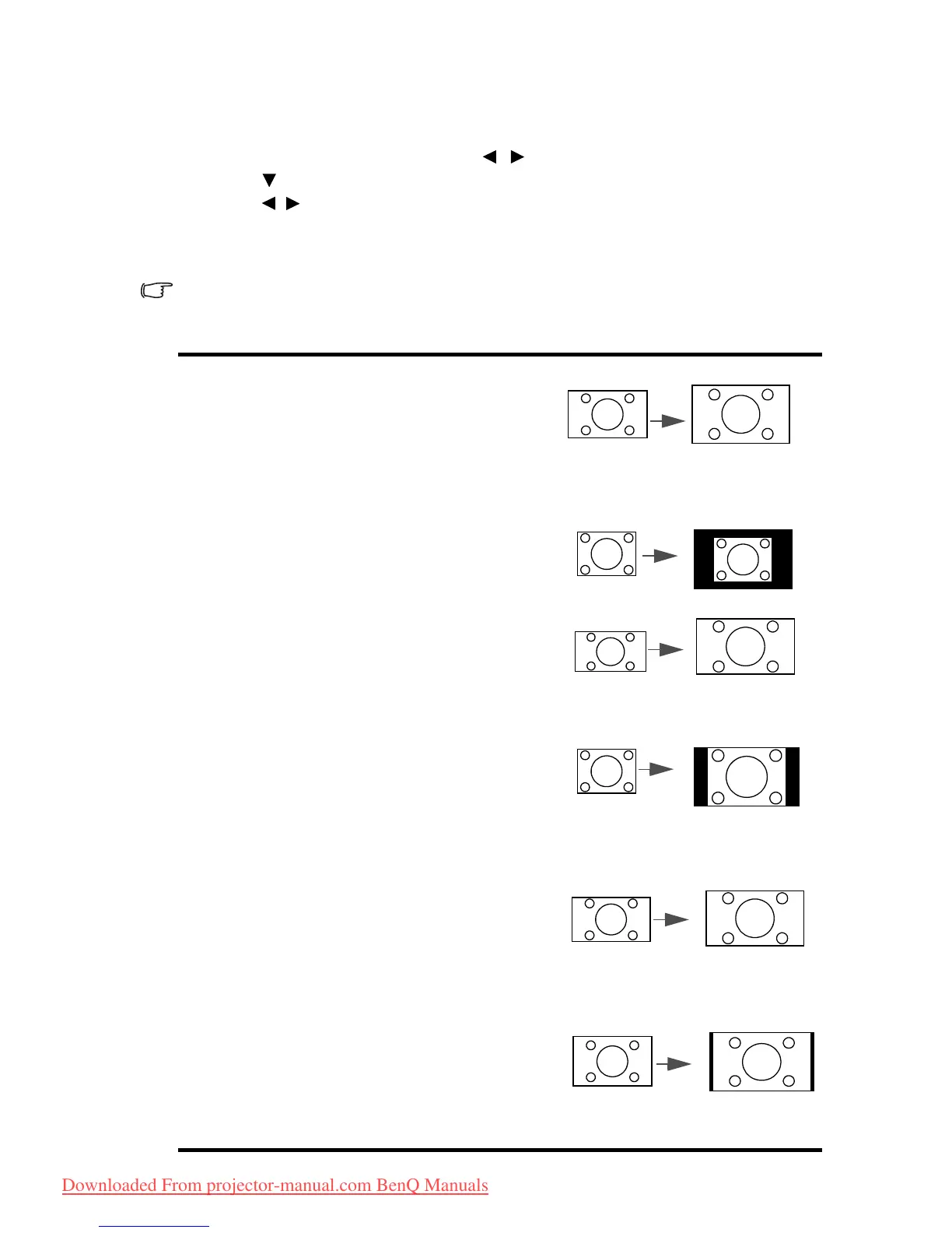
About the aspect ratio
In the pictures below, the black portions are inactive areas and the white portions are active areas.
OSD menus can be displayed on those unused black areas.
1. Auto: Scales an image proportionally to fit
the projector's native resolution in its
horizontal or vertical width. This is suitable
for the incoming image which is neither in 4:3
nor 16:9 and you want to make most use of
the screen without altering the image's aspect
ratio.
2. Real
: The image is projected as its original
resolution, and resized to fit within the display
area. For input signals with lower resolutions,
the projected image will display smaller than if
resized to full screen. You could adjust the
zoom setting or move the projector towards
the screen to increase the image size if
necessary. You may also need to refocus the
projector after making these adjustments.
3. 4:3: Scales an image so that it is displayed in
the center of the screen with a 4:3 aspect
ratio. This is most suitable for 4:3 images like
some computer monitors, standard definition
TV and 4:3 aspect DVD movies, as it displays
them without aspect alteration.
4. 16:9: Scales an image so that it is displayed in
the center of the screen with a 16:9 aspect
ratio. This is most suitable for images which
are already in a 16:9 aspect, like high definition
TV, as it displays them without aspect
alteration.
5. 16:10: Scales an image so that it is displayed in
the center of the screen with a 16:10 aspect
ratio. This is most suitable for images which
are already in a 16:10 aspect, as it displays
them without aspect alteration.
15:9 picture
4:3 picture
16:9 picture
4:3 picture
16:9 picture
16:10 picture
Downloaded From projector-manual.com BenQ Manuals

Related product manuals