EasyManua.ls Logo

Bercomac Berco 700465 - Belt Installation, Adjustment, and Replacement

Bercomac Berco 700465
28 pages
Print Icon
To Next Page IconTo Next Page
To Next Page IconTo Next Page
To Previous Page IconTo Previous Page
To Previous Page IconTo Previous Page
Loading...
12
MAINTENANCE
BELT INSTALLATION, ADJUSTMENT,
AND REPLACEMENT:
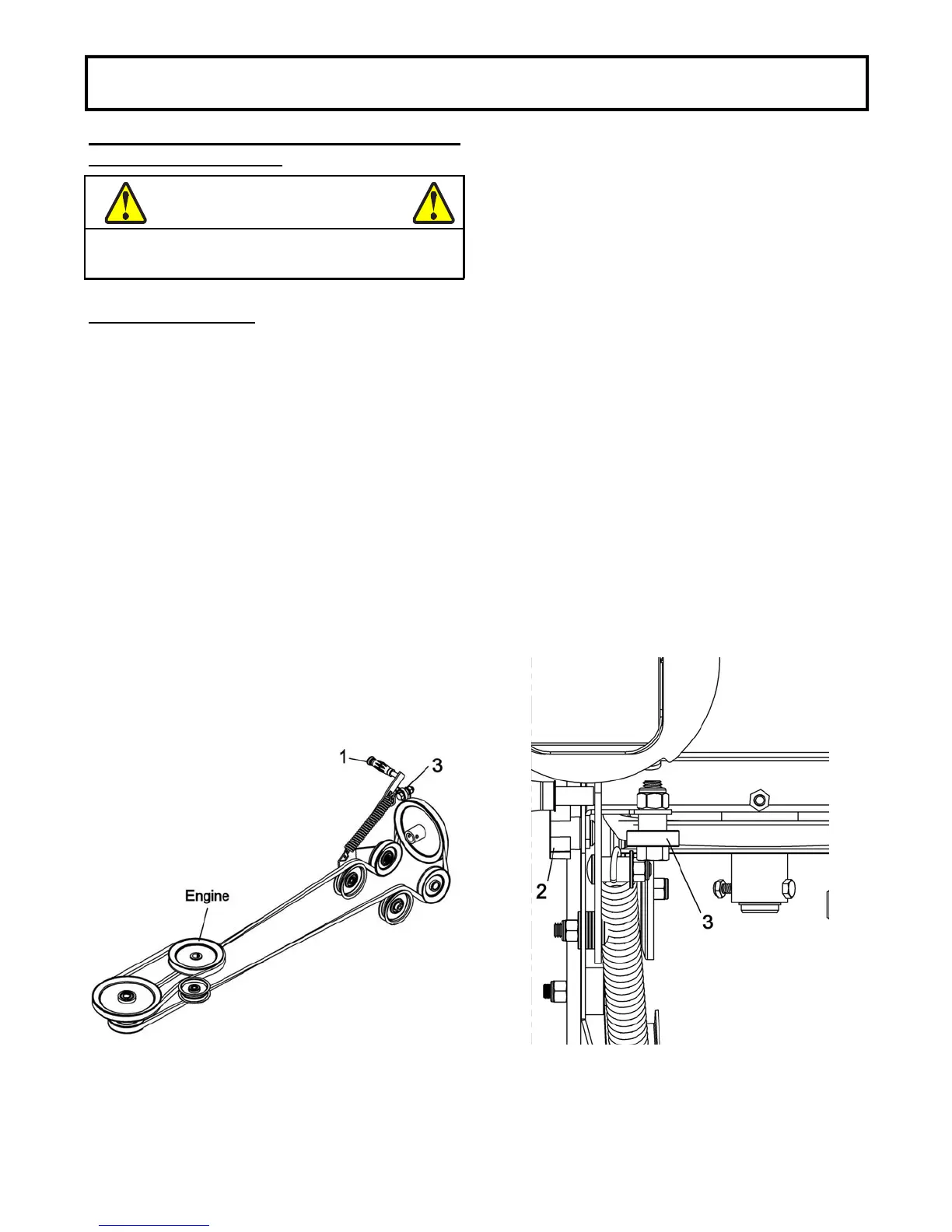
WARNING
The belt tension arm is spring loaded & needs to be
held firmly while displacing to prevent injury
.
SNOWBLOWER BELT:
a) Lower the snowblower to the ground.
b) Remove the belt guard.
c) Remove tension on the belt by lowering the
tension arm (item 1)
d) Loosen the knob (item 2) on the bracket that
holds the bearing (item 3).
e) Install the belt as shown.
f) Adjust the bracket by pushing on the bearing
(item 3) to apply a slight pressure on the back of
the belt (just enough to hold the belt in place). It is
normal that the bearing is off centre (towards the
vehicle) on the pulley. Just make sure that it does
not come into contact with the wall of the pulley.
Position of the belts
Top view
Position of the bearing
g) Tighten firmly with the knob.
h) Apply tension on the belt by pulling up the tension
arm (item 1).
i) Engage the snowblower for a few seconds. Stop
the engine. Inspect the belt to make sure it does
not interfere with any parts; that it is well inserted
in the pulleys and that it has not flipped on it’s
side while still on the pulleys.
j) Reinstall the belt guard.
k) Use genuine belts only, they are specifically
fabricated for this application.
NOTE: There must be a good tension on the belt at
all times. If spring is damaged or stretched, you must
replace
it.

Related product manuals