EasyManua.ls Logo

Bernina Funlock 004 - Adjusting Thread Tension

Bernina Funlock 004
30 pages
Print Icon
To Next Page IconTo Next Page
To Next Page IconTo Next Page
To Previous Page IconTo Previous Page
To Previous Page IconTo Previous Page
Loading...
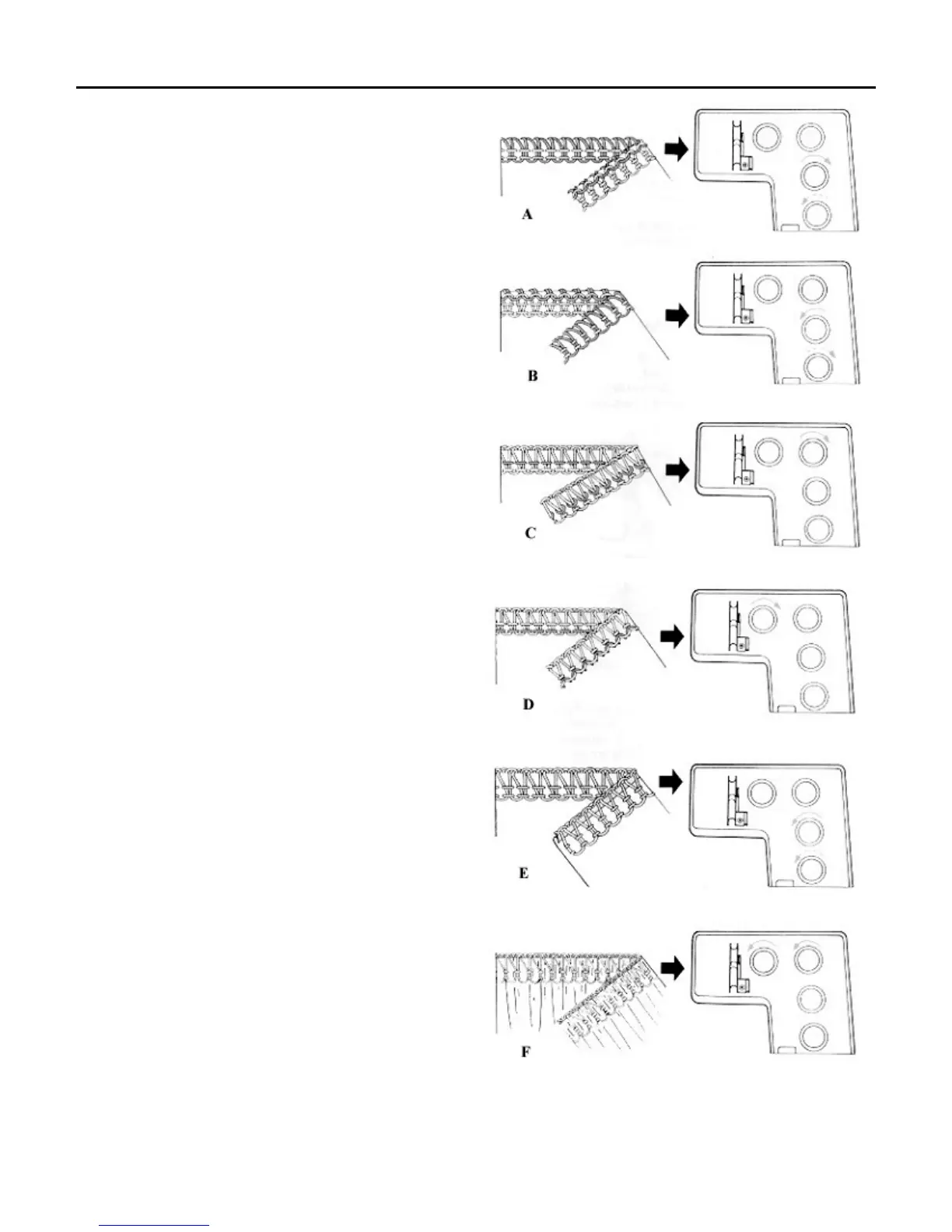
Thread tension
Adjusting the thread tension
Turn tension dials by only half or one number then test
sew again and check the results.
The loops are formed on the underside;
Tighten the upper lower thread tension, blue or loosen
the lower looper tension, red (A).
The loops are formed on the upper side;
Tighten the lower looper thread tension, red or loosen
the lower looper tension, blue (B).
The right-hand needle thread forms loops on the
underside;
Tighten the right-hand needle thread tension, green (C).
The left-hand needle thread forms loops on the
underside;
Tighten the left-hand needle thread tension, yellow (D).
The edge of the fabric curls up; tension of both looper
threads is too tight;
Loosen upper and lower looper thread tension, blue and
red (E).
The fabric puckers during sewing;
Loosen the right or left-hand needle thread tension,
green or yellow (F).
17

Related product manuals