EasyManua.ls Logo

Beta Three DT Series - Page 9

Beta Three DT Series
17 pages
Print Icon
To Next Page IconTo Next Page
To Next Page IconTo Next Page
To Previous Page IconTo Previous Page
To Previous Page IconTo Previous Page
Loading...
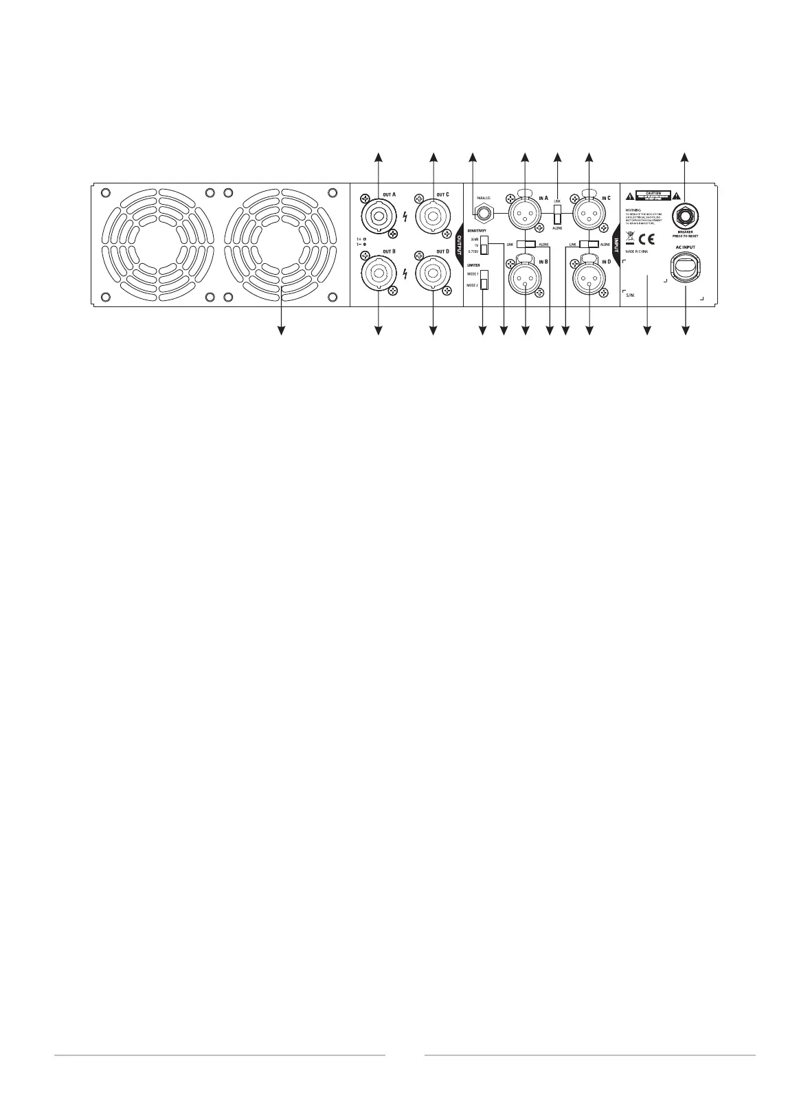
Four Channels
1. Channel A power output (NL4 jack)
2. Channel C power output (NL4 jack)
3. Channel A signal output(TRS jack,
parallel with input A)
4. Channel A signal input (XLR jack )
5. Link switch (Channel A and Channel C)
6. Channel C signal input (XLR jack)
7. Circuit breaker(Automatically trips when
overload, press to resume)
8. Fan
9. Channel B power output (NL4 jack)
10. Channel D power output (NL4 jack)
11. Limiter mode switch
12. Sensitivity mode switch
13. Channel B signal input (XLR jack)
14. Link switch (Channel A and Channel B)
15. Link switch (Channel C and Channel D)
16. Channel D signal input (XLR jack)
17. Label (mark with consumed AC voltage,
rated current )
18. Power cord
1 2 3
5 6 7
1815 16141312111098
4
6
17