EasyManua.ls Logo

Birko 1002101 - Page 13

Birko 1002101
16 pages
Print Icon
To Next Page IconTo Next Page
To Next Page IconTo Next Page
To Previous Page IconTo Previous Page
To Previous Page IconTo Previous Page
Loading...
12
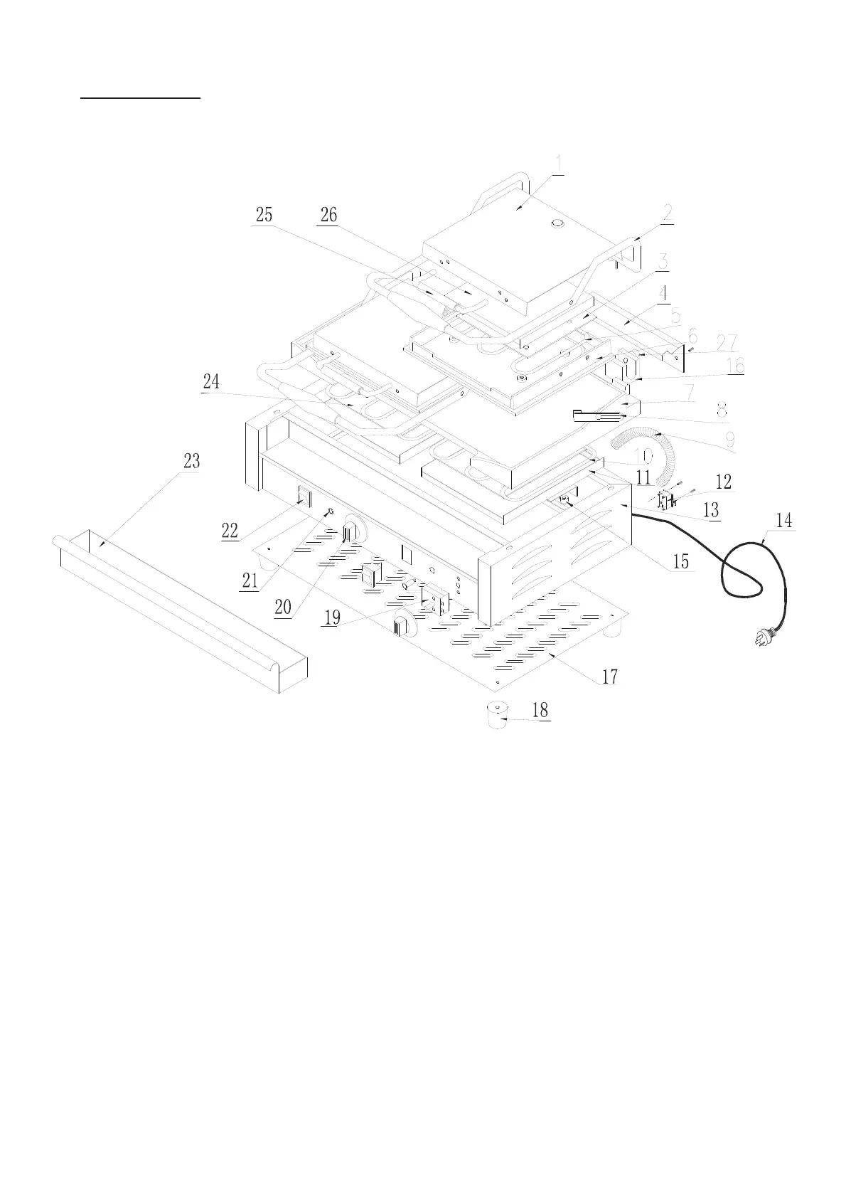
Explosion View
Model: 1002103