EasyManua.ls Logo

Birko 1002101 - Electrical Diagrams; Model Electrical Schematics

Birko 1002101
16 pages
Print Icon
To Next Page IconTo Next Page
To Next Page IconTo Next Page
To Previous Page IconTo Previous Page
To Previous Page IconTo Previous Page
Loading...
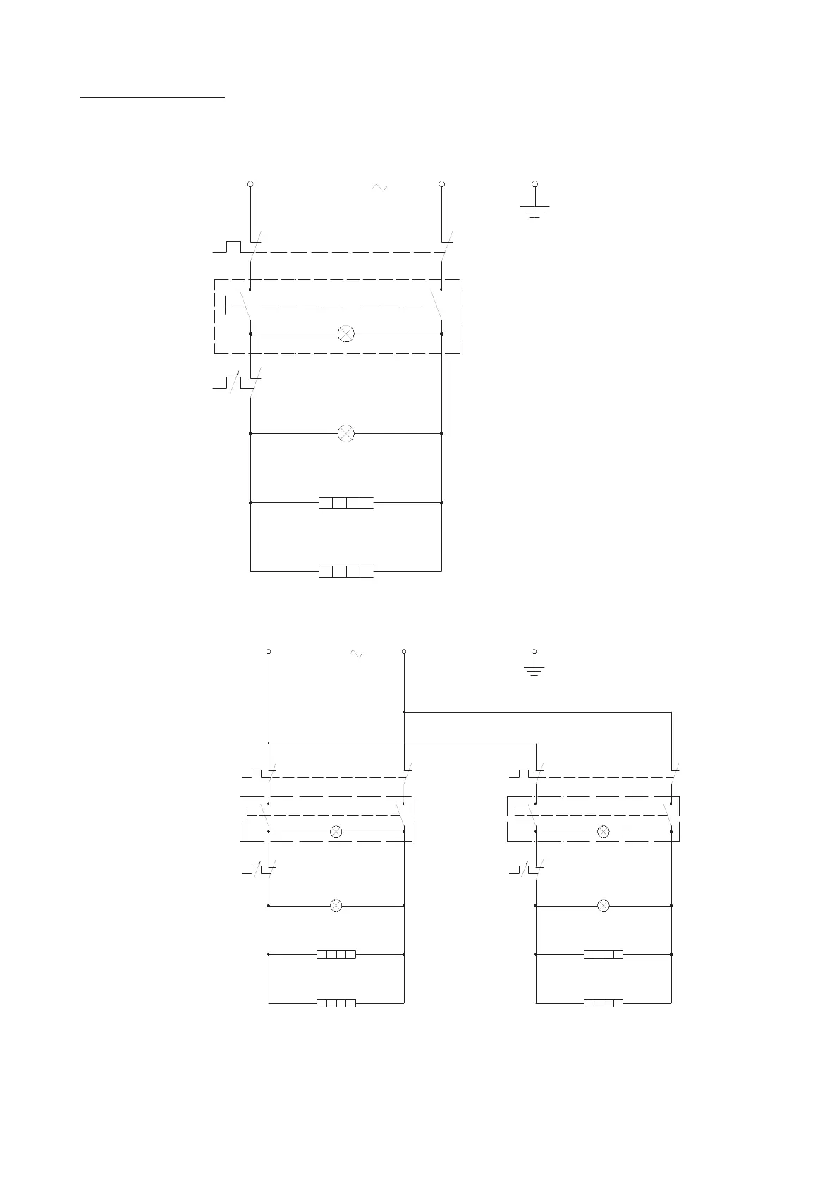
6
main switch
thermostat
indicator lamp
top element
bottom element
thermal cutting
device
220-240V
L
N E
thermostat 2
main switch 2
thermal cutting
device 2
thermal cutting
device 1
main switch 1
thermostat 1
bottom element 1
top element 1
indicator lamp 1
220-240V
L N
bottom element 2
indicator lamp 2
top element 2
E
MODEL: 1002103
Thermal cutout
Thermal cutout
Thermal cutout
no.2
The above circuit diagram has been provided to assist qualified technicians. Only Birko agents or
Recommended Qualified Technicians should carry out repairs if needed. Do not remove any components or
service panels on this product.
Electrical Diagram
MODEL: 1002101/1002102