EasyManua.ls Logo

BIRO 22 - Toggle Switches

BIRO 22
32 pages
Print Icon
To Next Page IconTo Next Page
To Next Page IconTo Next Page
To Previous Page IconTo Previous Page
To Previous Page IconTo Previous Page
Loading...
20
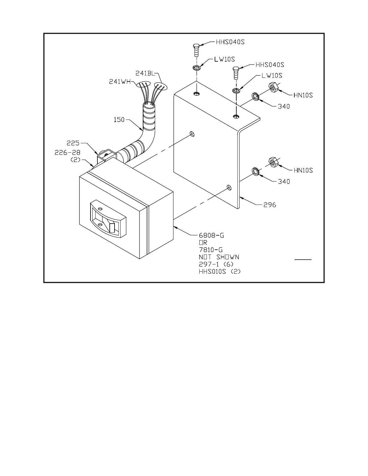
TOGGLE SWITCHES
Description
A6808-G-12
Toggle switch assembly, 1 phase
A7810-G-12
Toggle switch assembly, 3 phase
HHS040S
Hex head screw, ¼-20 x ¼, SS
HN10S
Hex nut, 10-32, SS
Lock washer, ¼, SS
150
Conduit, ½, SS
LW10S
Item No.
225
Conduit connector, 90°
241WH
Wire, white, 12 gauge
Toggle switch bracket
297-1
Wire terminal eyelet
340
Star lock washer
296
6808-G
Toggle switch, 1 phase
226-28
Washer, conduit connector
241BL
Wire, black, 12 gauge
7810-G
Toggle switch, 3 phase
HHS010S
Hex head screw, 10-32 x ⅜, SS
NOTE
SERIAL NO.
REQUIRED

Other manuals for BIRO 22