EasyManua.ls Logo

Bison NB Series - NB80;NB120 MANUAL ASSEMBLY PARTS

Bison NB Series
72 pages
Print Icon
To Next Page IconTo Next Page
To Next Page IconTo Next Page
To Previous Page IconTo Previous Page
To Previous Page IconTo Previous Page
Loading...
41
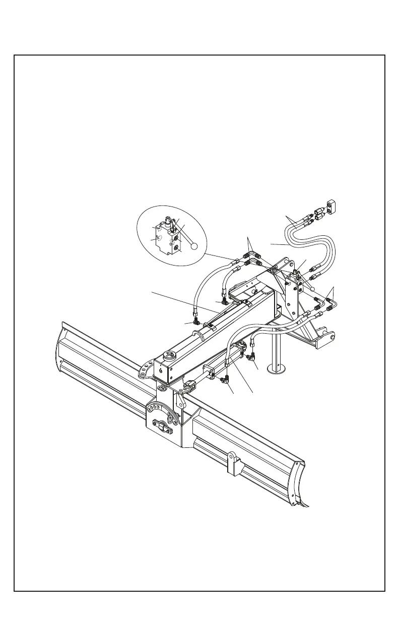
A. Connect the hose (4) to the elbow angle cylinder
port (B) and the port (B) of the selector valve (1) using
the elbow (5). Connect the hose (4) with the side port
(F) of the cylinder and the port angle (F) of the selector
valve (1) using the elbow (5).
B. Connect the hose (3) to the port side (E) of the offset
cylinder port (E) of the selector valve (1) using the
elbow (5). Connect the hose (3) to the port side (A) of
the cylinder side-scrolling and port (A) of the selector
valve (1) using the elbow (5).
C. Connect the hose (2) to the port (D) of the selector
valve (1) and the quick connector. Connect the other
hose (2) to port (C) of the selector valve (1) and the
quick connector.
A. Assembly of the selector valve
B. Hose 8M3K-8MP-8MP-1.50
C. Hose 8M3K-8FJX-8FJX-1.00
D. Hose, 8M3K-8FJX-8FJX-1.75
E. Elbow 8MP 8 MJ-90 with nut
HOSE ASSEMBLY WITH DIVIDER VALVE (OPTIONAL)
Swing cylinder
36
45
42
42
2
1
5
5
C
E
A
F
B
D
42
42
38 Offset cylinder
NB80-038