EasyManua.ls Logo

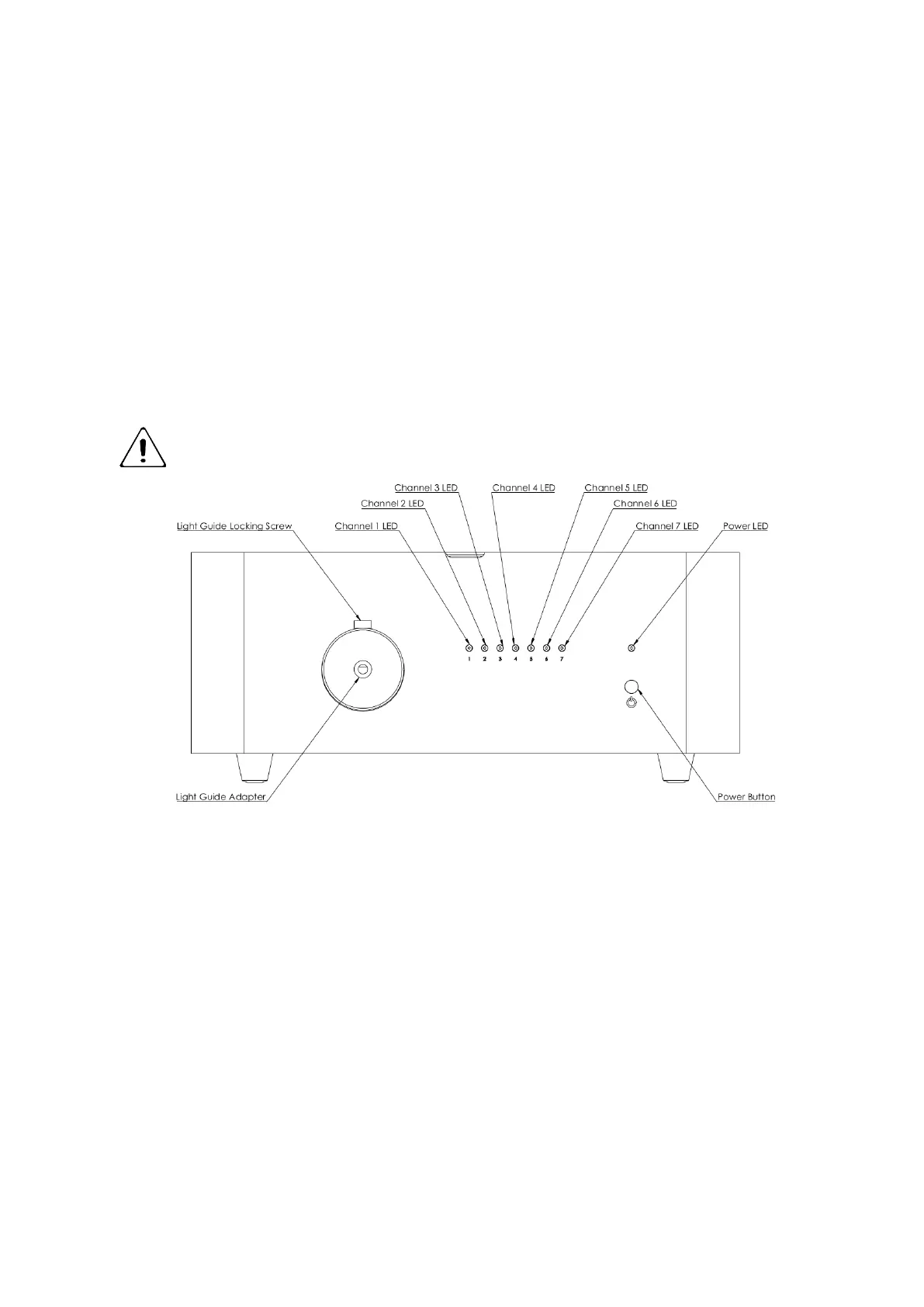
BlueBox niji - Hardware Set-Up; Figure 1: Front View Panel

BlueBox niji
31 pages
Print Icon
To Next Page IconTo Next Page
To Next Page IconTo Next Page
To Previous Page IconTo Previous Page
To Previous Page IconTo Previous Page
Loading...
8
www.BlueBoxOptics.com V2.4
niji
of the equipment and these should remain free from obstruction. A low dust
environment with allow longer usage before the air filters need to be serviced. Any
significant reduction in air flow may damage this equipment which will impact on its
performance and functionality. Internal temperature probes are installed to monitor
the equipment temperature and this data is displayed via the software interface.
3.6 Hardware Set-Up
Connect the liquid light guide (LLG) to the device via the input port at the front of the
unit (Figure 1).
Connect the equipment to mains power using the power supply provided and
connect one end of the USB cable (A-B) to the USB port on the device, and the other
to the computer (Figure 2).
Keep trailing cables tidy to minimise the risk of tripping
Figure 1: Front View Panel

Table of Contents