EasyManua.ls Logo

BlueStar FBFD361 - Sabbath Mode; Showroom Mode; High Temp Error

BlueStar FBFD361
96 pages
Print Icon
To Next Page IconTo Next Page
To Next Page IconTo Next Page
To Previous Page IconTo Previous Page
To Previous Page IconTo Previous Page
Loading...
23 /33 EN
Refrigerator / User Manual
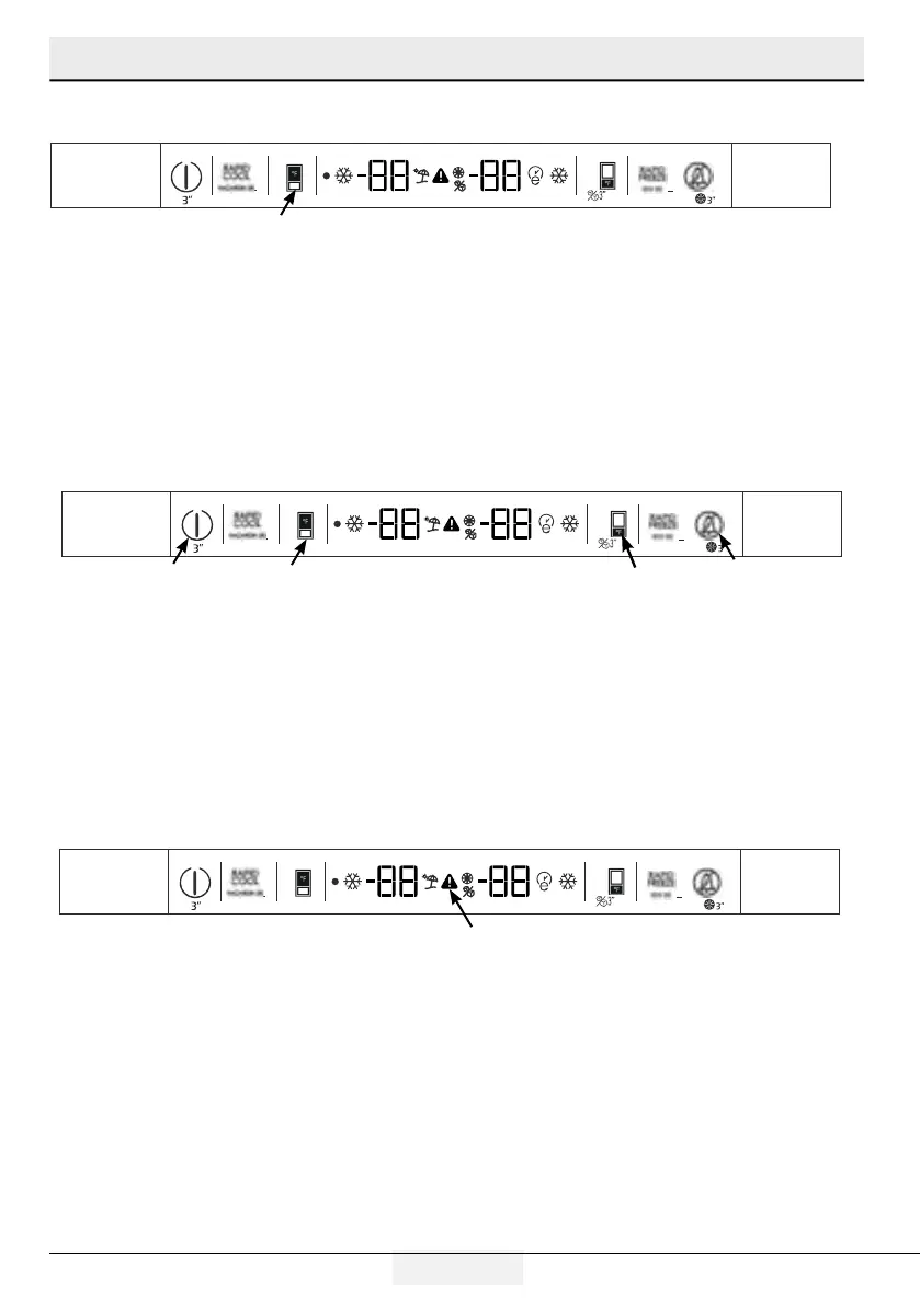
5.2 Sabbath Mode
Press the Fresh Food Temp Set Function key for 3 seconds to activate or deactivate the Sabbath Mode.
8IFO4BCCBUI.PEFJTBDUJWBUFEUIFEJTQMBZBMBSNEPPSPQFOJOHPSMJHIUCVUUPOTXJMMOPUGVODUJPO4"
will appear in the display. The cooling algorithm is set according to the sabbath fashion. If the user does
not deactivate the Sabbath mode, the refrigerator will automatically cancel it in 72 hours.
Fresh Food Temp Set key
The High Temp Error icon is displayed when the Freezer temperature is too warm after the initial 72 hours of
operation. If the Freezer temperature reaches 28Fº (-2.2ºC) or higher, and doesn’t drop below 16 Fº (-9ºC)
within 12 hours, the High Temp Error icon will be illuminated, an alarm will sound and the set temperature
BOEIJHIFTUUFNQFSBUVSFSFBDIFEJOUIF'SFF[FSXJMMBMUFSOBUFJOUIFEJTQMBZ*GZPVQSFTTUIFi"MBSN0GGwLFZ
the alarm will be silenced, but the icon and flashing temperature will continue until the Freezer gets below
16Fº (-9ºC). If the Freezer does not cool below 16Fº (-9ºC) in the next 3.5 hours, the audible alarm will
SFUVSO5IFBVEJCMFBMBSNDBOCFTJMFODFEBHBJOXJUIUIFi"MBSN0GGwLFZ*GUIFFSSPSDPOUJOVFTUPSFUVSOUIF
EPPSTTIPVMECFDIFDLFEGPSQSPQFSDMPTVSFBOETFBMJOH"DPNNPODBVTFPGUIJTFSSPSJTBQPXFSGBJMVSFJO
the circuit to which the refrigerator is connected. If the icon continues to return, an authorized service agent
should be called to inspect the unit.
5.4 High Temp Error
5.3 Showroom Mode
Showroom Mode is an option primarily used in dealer's showrooms. It allows the product to be turned
on without the operation of the fans and cooling system. To activate this mode, Press and hold “Power”
i"MBSN0GGwVOUJM14BQQFBST$IBOHFUIFUPBOCZQSFTTJOHUIFi'SFF[FS5FNQFSBUVSF4FUwLFZ
Then press “Fresh Food Temperature Set” key to activate. To deactivate, press and hold the “Power” &
i"MBSN0GGwBHBJO
Fresh Food Temp Set key
Power
Alarm Off
Freezer Temp Set
High Temp Error Icon
Display and operating the product

Table of Contents